Запчасти Case 1000D (140) - BASIC TRACTOR HYDRAULICS (07) - HYDRAULIC SYSTEM

Схема запчастей Case 1000D - (140) - BASIC TRACTOR HYDRAULICS (07) - HYDRAULIC SYSTEM
FIT
1:1
100%

Артикул

Название

Примечание

Количество

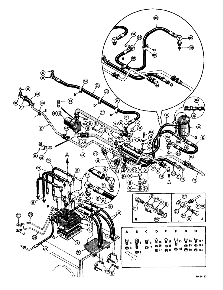
1

R20723

VALVE

ASS'Y - transmission control (See Figure 310 for breakdown)

1шт.

2

A50238

GASKET

- valve to valve base

1шт.

3

R13360

BASE - valve

1шт.

4

A50239

GASKET

- valve, Serial Range: base-transmission

1шт.

5

46954

CYLINDER END CAP,Hex, 3/8" - 24 x 1", Gr 5, Drilled Hd

HHCS - 3/8" - 24 NF x 1" (R13360 mounting) Drilled head

4шт.

6

92-6

LOCK WASHER,3/8"

4шт.

7

R10831

ELECTRICAL WIRE

WIRE - tie

2шт.

8

61-632

HEX SOC SCREW,3/8"-16 x 2"

SHCS - 3/8" - 16 NC x 2" (R20723 mounting)

4шт.

9

92-6

LOCK WASHER,3/8"

4шт.

10

218-5105

ELBOW,90 Degree Elbow, 9/16" - 18 Male JIC x 9/16" - 18 Male ORB

- 90 degree special (3/8" JIC to 3/8" JIC)

6шт.

11

218-5005

O-RING,0.078" Thk x 0.468" ID, -906, Cl 6, 90 Duro

6-1, 90 Duro, .468" ID x .078" Thk, seal

1шт.

12

R20739

FITTING

ELBOW - 90 degree special (Extra long) 3/8" JIC to 3/8" JIC

2шт.

13

218-5005

O-RING,0.078" Thk x 0.468" ID, -906, Cl 6, 90 Duro

6-1, 90 Duro, .468" ID x .078" Thk, seal

1шт.

14

A50297

HYDRAULIC HOSE,6.35 mm ID x 704.80 mm, SAE100R1

6.35 mm ID x 704.80 mm, SAE 100R1, Assy - Valve to transmission, Rear

4шт.

15

49855

CLAMP

- hose

4шт.

16

14-612

BOLT,Hex, 3/8" - 24 x 3/4", Gr 5, Full Thd

2шт.

17

92-6

LOCK WASHER,3/8"

2шт.

18

73773

BRACKET - hose support

1шт.

19

A50295

HYDRAULIC HOSE,6.35 mm ID x 419.00 mm, SAE100R1

6.35 mm ID x 419.00 mm, SAE 100R1 - Valve to transmission front

2шт.

20

A50294

HYDRAULIC HOSE,14.25"

Assy - Valve to transmission front 14.25"

2шт.

21

A12864

BOLT

- connecting

4шт.

22

NLS

NO LONGER SERVICED

4шт.

23

51200243

FITTING

- 3/16" tube

2шт.

24

51200242

SEAL,15.24mm ID x 20.64mm OD x 0.81mm Thk

4шт.

25

72125

ADAPTER

- brake tube

2шт.

27

50861

FITTING

- 3/16" tube

2шт.

28

R13542

HOSE

ASS'Y - brake line

2шт.

29

R19774

TUBE

- valve to brake master cylinder, R.H.

1шт.

30

R19776

TUBE

- valve to brake master cylinder, L.H.

1шт.

31

218-5108

ELBOW,90 Degree Elbow, 1-1/16" - 12 Male JIC x 1-1/16" - 12 Male ORB

90º, special (3/4" JIC x 3/4" JIC)

2шт.

32

218-5008

O-RING,0.116" Thk x 0.924" ID, -912, Cl 6, 90 Duro

SEAL - "O" ring

1шт.

33

R21395

HOSE

ASS'Y - torque converter to radiator (62" long)

1шт.

34

R14098

CLAMP,1 1/4", Insul, 5/16" Bolt

- hose

4шт.

35

14-516

BOLT,Hex, 5/16" - 24 x 1", Gr 5, Full Thd

HHCS - 5/16" - 24 NF x 1" (R14098 mounting)

4шт.

36

92-5

LOCK WASHER,5/16"

4шт.

37

25-115

NUT,5/16"-24, G5

- reg. SF hex (5/16"-24 NF)

4шт.

38

R20916

FITTING

ELBOW - 90 degree special

1шт.

39

218-5008

O-RING,0.116" Thk x 0.924" ID, -912, Cl 6, 90 Duro

SEAL - "O" ring

1шт.

40

R21518

LARGE HOSE

HOSE - low pressure, radiator to torque converter and transmission housing (3/4" I.D. x 1-1/4" O.D. x 12")

1шт.

41

214-256

HOSE CLAMP,#20, 0.81" - 1.75", Type F Worm

CLAMP - hose

20шт.

42

R22427

TUBE - radiator to converter and transmission housing

1шт.

43

49855

CLAMP

- tube

2шт.

44

14-516

BOLT,Hex, 5/16" - 24 x 1", Gr 5, Full Thd

HHCS - 5/16" - 24 NF x 1" (49855 mounting)

2шт.

45

92-5

LOCK WASHER,5/16"

2шт.

46

25-115

NUT,5/16"-24, G5

- reg. SF hex (5/16"-24 NF)

2шт.

47

R20804

HOSE,19.00 mm ID x 76.20 mm, SAE 100R3

Low Pressure 19.00 mm ID x 76.20 mm, SAE 100R3

5шт.

48

R22434

TUBE - radiator to converter and transmission housing

1шт.

49

R22432

TUBE - radiator to torque converter housing

1шт.

50

R22429

FITTING

ELBOW - 45 degree special

1шт.

51

218-5008

O-RING,0.116" Thk x 0.924" ID, -912, Cl 6, 90 Duro

SEAL - "O" ring

1шт.

52

R21377

TUBE - radiator to transmission housing

1шт.

53

R19880

FITTING

ELBOW - 90 degree special

1шт.

54

R22428

FITTING

ELBOW - 45 degree special

1шт.

55

218-5009

O-RING,0.116" Thk x 1.048" ID, -914, Cl 6, 90 Duro

SEAL - "O" ring

1шт.

56

R17482

HOSE

- low pressure (1-1/4" I.D. x 1-13/16" O.D. x 4")

4шт.

57

R22431

TUBE - filter to torque converter charging pump

1шт.

58

R22430

CONNECTOR, ELEC

CONNECTOR - special (Used with R19878 filter only)

1шт.

59

218-5010

O-RING,0.116" Thk x 1.171" ID, -916, Cl 6, 90 Duro

SEAL - "O" ring

1шт.

60

R19878

FILTER ASSEMBLY - transmission oil (Used before tractor serial no. 7105465) See Figure 146 for breakdown (Order 1 - D32618 filter, 2 - 221-240 pipe nipple and 1 - 221-416 street elbow for service)

1шт.

61

R22438

ELBOW - 90 degree special (Used with R19878 filter only)

1шт.

62

218-5010

O-RING,0.116" Thk x 1.171" ID, -916, Cl 6, 90 Duro

SEAL - "O" ring

1шт.

63

221-240

NIPPLE, LUBE

NIPPLE - pipe (1" NPT x 2-1/2") Used with D32618 filter only

1шт.

64

D32618

X

FILTER ASSEMBLY - transmission oil (Used on tractor serial no. 7105465 and after) See Figure 146 for breakdown

1шт.

65

221-240

NIPPLE, LUBE

NIPPLE - pipe (1" NPT x 2-1/2") Used with D32618 filter only

1шт.

66

214-416

ELBOW - street (Used with D32618 filter only)

1шт.

67

13-824

BOLT,Hex, 1/2" - 13 x 1-1/2", Gr 5, Full Thd

(Filter mounting) Hex, 1/2"-13 x 1 1/2", G5, Full Thd

2шт.

68

92-8

LOCK WASHER,1/2"

2шт.

69

R22433

TUBE - transmission case to transmission oil filter (Used before tractor serial no. 7105761)

1шт.

D35492

TUBE - transmission case to transmission oil filter (Used on tractor serial no. 7105761 and after)

1шт.

70

R13916

EXTENSION ASSEMBLY - suction line (When stock is exhausted, use 1 - A50242 connector and 1 - A50243 tube for service)

1шт.

71

R19864

SUN VISOR

ELBOW - 90 degree special

1шт.

72

218-5010

O-RING,0.116" Thk x 1.171" ID, -916, Cl 6, 90 Duro

SEAL - "O" ring

1шт.

73

R19863

HOSE ASSY.

HOSE - low pressure (1/2" I.D. x 15/16" O.D. x 13" long)

1шт.

74

214-253

HOSE CLAMP,#10, 0.56" - 1.06", Type F Worm

CLAMP - hose

2шт.

75

R21394

STEM

CONNECTOR - special

1шт.

76

A58613

SEALING WASHER

- special

1шт.

77

14-612

BOLT,Hex, 3/8" - 24 x 3/4", Gr 5, Full Thd

(73773 mounting) Used before tractor S/N 7104672 Hex, 3/8"-24 x 3/4", G5, Full Thd

2шт.

13-612

BOLT,Hex, 3/8" - 16 x 3/4", Gr 5, Full Thd

(73773 mounting) Used on tractor S/N 7104672 and after Hex, 3/8"-16 x 3/4", G5, Full Thd

2шт.

78

92-6

LOCK WASHER,3/8"

2шт.

79

218-5062

HYD CONNECTOR,7/8"-14, 37 Degree x 7/8"-14, O-Ring

CONNECTOR - special (5/8" JIC to 5/8" JIC)

1шт.

80

237-6010

O-RING,0.097" Thk x 0.755" ID, -910, Cl 6, 90 Duro

10-1, 90 Duro, .755" ID x .097" Thk

1шт.

81

D29468

HOSE

ASSEMBLY - torque converter charging pump to transmission oil filter (47" long)

1шт.

82

49831

CLAMP

- hose

3шт.

83

14-516

BOLT,Hex, 5/16" - 24 x 1", Gr 5, Full Thd

HHCS - 5/16" - 24 NF x 1" (49831 mounting)

1шт.

84

95-5

WASHER,3/8" x 7/8" x .083"

- standard wrot (3/8" I.D. x 7/8" O.D. x 5/64" thick)

1шт.

85

25-115

NUT,5/16"-24, G5

- hex (5/16"-24 NF)

1шт.

86

218-457

HYD CONNECTOR,7/8" - 14 Male JIC x 3/4" - 14 Male NPTF

ADAPTER - straight (5/8" JIC to 3/4" NPT)

1шт.

87

D22660

AIR INTAKE TUBE

FILTER - transmission oil (Used before tractor serial no. 7104711) See Figure 148 for breakdown (Order D31210 for service)

1шт.

D31210

FILTER

- transmission oil (Used on tractor serial no. 7104711 and after) See Figure 150 for breakdown

1шт.

88

14-616

BOLT,Hex, 3/8" - 24 x 1", Gr 5

HHCS - 3/8" - 24 NF x 1" (Filter mounting)

4шт.

89

95-6

WASHER,3/8"

- standard wrot (7/16" I.D. x 1" O.D. x 5/64" thick)

4шт.

90

25-116

NUT,Hex, 3/8"-24, G5

- hex. (3/8" - 24 NF)

4шт.

91

D29470

FITTING

TEE - special (5/8" JIC to 5/8" JIC)

1шт.

92

D29466

HOSE

ASSEMBLY - transmission oil filter to transmission control valve (18" long)

1шт.

93

R20894

FITTING

ELBOW - 90 degree special (Long)

1шт.

94

237-6010

O-RING,0.097" Thk x 0.755" ID, -910, Cl 6, 90 Duro

10-1, 90 Duro, .755" ID x .097" Thk

1шт.

95

D29468

HOSE

ASSEMBLY - filter to torque converter (47" long)

1шт.

96

D29469

X

ELBOW - 90 degree special (7/8" JIC to 5/8" JIC)

1шт.

97

218-5009

O-RING,0.116" Thk x 1.048" ID, -914, Cl 6, 90 Duro

SEAL - "O" ring

1шт.

98

218-5107

90 ELBOW,90 Degree Elbow, 7/8" - 14 Male JIC x 7/8" - 14 Male ORB

- 90 degree special (5/8" JIC to 5/8" JIC)

1шт.

99

237-6010

O-RING,0.097" Thk x 0.755" ID, -910, Cl 6, 90 Duro

10-1, 90 Duro, .755" ID x .097" Thk

1шт.

100

R21337

HOSE ASSY.

HOSE ASSEMBLY - torque converter charging pump to transmission control valve (56" long)

1шт.

101

R21385

CLAMP

- hose

1шт.

102

14-516

BOLT,Hex, 5/16" - 24 x 1", Gr 5, Full Thd

HHCS - 5/16" - 24 NF x 1" (R21385 mounting)

1шт.

103

92-5

LOCK WASHER,5/16"

1шт.

104

25-115

NUT,5/16"-24, G5

- hex (5/16"-24 NF)

1шт.

105

49831

CLAMP

- hose

1шт.

106

R20894

FITTING

ELBOW - 90 degree special (5/8" JIC to 5/8" JIC)

1шт.

107

237-6010

O-RING,0.097" Thk x 0.755" ID, -910, Cl 6, 90 Duro

10-1, 90 Duro, .755" ID x .097" Thk

1шт.

26

218-5006

O-RING,0.087" Thk x 0.644" ID, -908, Cl 6, 90 Duro

SEAL - "O" ring

2шт.

Выбрано товаров: 110