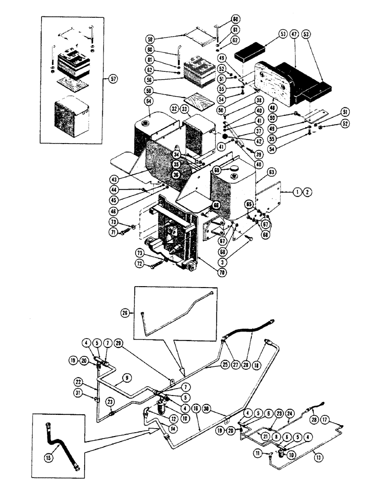
Запчасти Case 600 (266) - TRACTOR MODIFICATION PARTS FOR BACKHOE, TANK, FENDERS, FUEL SYSTEM (05) - UPPERSTRUCTURE CHASSIS

Схема запчастей Case 600 - (266) - TRACTOR MODIFICATION PARTS FOR BACKHOE, TANK, FENDERS, FUEL SYSTEM (05) - UPPERSTRUCTURE CHASSIS
FIT
1:1
100%

Артикул

Название

Примечание

Количество

1

35304

BRACKET

PLATE ASS'Y - R.H. fender side

1шт.

2

35305

PLATE ASS'Y - L.H. fender side

1шт.

3

14-1028

BOLT,Hex, 5/8" - 18 x 1-3/4", Gr 5

(35304 & 35305 mtg.) Hex, 5/8"-18 x 1 3/4", G5

6шт.

4

221-161

PIPE,Nipple, 3/8" NPT x 1 1/2"

NIPPLE - pipe, 3/8 NP x 1-1/2 (41417)

2шт.

5

221-423

TEE,3/8" NPT

- pipe, 3/8 NP (41582)

2шт.

6

218-444

HYD CONNECTOR,3/4" - 16 Male JIC x 3/8" - 18 Male NPTF

CONNECTOR - male 3/8 NPT x 1/2 JIC (Used up to ser. #7060843)

2шт.

7

222-815

CONNECTOR - male 3/8 NP x 1/2 SAE (Used from ser. #7060843)

2шт.

8

35622

FUEL TUBE

TUBE ASS'Y - Lt. to RH tank (Used up to ser. #7060843)

1шт.

9

39976

TUBE ASS'Y - Lt. to RH tank (Used from ser. #7060843)

1шт.

10

O3990AB1

X

STRAINER ASS'Y - fuel (See Figure #42 for breakdown)

1шт.

11

218-492

90 ELBOW,90 Degree Elbow, 9/16" - 18 Male JIC x 1/8" - 27 Male NPTF

- male 90 degree 1/8 NPT x 3/8 JIC (Used up to ser. #7060843)

1шт.

12

222-767

ELBOW,90 Degree, 5/8"-18, 45 Degree Fl x 1/8" NPT

- male 90 degree 1/8 NPT x 3/8 SAE (Used from ser. #7060843)

1шт.

13

35462

BALL STUD

TUBE ASS'Y - strainer to filter (Used up to ser. #7060843)

1шт.

14

39939

SHAFT SEAL

TUBE ASS'Y - strainer to filter (Used from 7060843 and, Serial Range: up-#7061002)

1шт.

15

R13572

HOSE ASS'Y - strainer to filter (Used from #7061002)

1шт.

16

39931

SHIM

TUBE ASS'Y - strainer to filter (Used from ser. #7060843)

1шт.

17

218-443

HYD CONNECTOR,9/16" - 18 Male JIC x 1/4" - 18 Male NPTF

CONNECTOR - male 3/8 JIC x 1/4 NP (Used up to ser. #7060843)

1шт.

18

222-809

HYD CONNECTOR,5/8"-18, 45 Degree Fl x 1/4" NPT

CONNECTOR - male 3/8 SAE x 1/4 NP (Used from ser. #7060843)

1шт.

19

221-86

REDUCER,Hex, 3/8" x 1/4" NPT

BUSHING - pipe 3/8 NP x 1/4 NP

1шт.

20

222-803

HYD CONNECTOR,7/16"-20, 45º Fl x 1/4" NPT

CONNECTOR - male 1/4 x 1/4

1шт.

21

35456

AXLE-SHAFT, ARTICULA

TUBE ASS'Y - tank to inject. pump (Used up to ser. #7060843)

1шт.

22

39996

TUBE ASS'Y - tank to inject. (Used from ser. #7060843)

1шт.

23

222-842

FITTING,1/8" NPT Fem Run x 1/8" NPT Male x 7/16"-20 Br

UNION - 1/4 SAE

1шт.

24

36285

TUBE ASS'Y - tank to inject. pump (Used up to ser. #7060915)

1шт.

25

74742

X

TUBE ASS'Y - tank to inject. pump (Used from ser. #7060915 up to serial #7061082)

1шт.

26

R13367

TUBE ASS'Y - tank to injection pump (Used from 7061082)

1шт.

27

R12836

ELBOW - union 1/4 O.D. tube

1шт.

28

D20272

HOSE

HOSE ASS'Y

1шт.

29

R13002

CLAMP

- tube (R13367 mtg.) (Used from 7061082)

1шт.

30

49837

CLAMP

- tube (39931 mtg.) (Used from ser. #7060843)

1шт.

31

51200321

CLAMP

- tube (R13367 & 39996 mtg.)

2шт.

32

37577

DEFLECTOR

BOX - battery (Used up to ser. #7060716)

1шт.

39566

BOX - battery (Used from ser. #7060716)

1шт.

33

37580

BOX ASS'Y - battery (Used up to ser. #7060716)

1шт.

39567

BOX ASS'Y - battery (Used from serial #7060716)

1шт.

34

14-824

BOLT,Hex, 1/2" - 20 x 1-1/2", Gr 5

HHCS 1/2-20 NF x 1-1/2 (37580, 39567 mtg.) (45708)

4шт.

35

92-8

LOCK WASHER,1/2"

(48448) 1/2"

4шт.

36

25-118

NUT,1/2"-20, G5

- reg. SF hex (1/2-20) (48104)

4шт.

37

35670

O-RING,37.85mm ID x 5.28mm Width

BRACE - battery box

2шт.

38

14-616

BOLT,Hex, 3/8" - 24 x 1", Gr 5

HHCS 3/8-24 x 1 (35670 mtg.) (45656)

2шт.

39

14-620

BOLT,Hex, 3/8" - 24 x 1-1/4", Gr 5

HHCS - 3/8-24 x 1-1/4 (35670 mtg.) (45657)

2шт.

40

92-6

LOCK WASHER,3/8"

(48446) 3/8"

4шт.

41

25-116

NUT,Hex, 3/8"-24, G5

- reg. SF hex (3/8-24) (48102)

4шт.

42

49567

GROMMET

4шт.

43

NLS

NO LONGER SERVICED

SEAT ASS'Y

1шт.

44

14-820

BOLT,Hex, 1/2" - 20 x 1-1/4", Gr 5

HHCS - 1/2-20 x 1-1/4 (34846 mtg.) (45707)

3шт.

45

92-8

LOCK WASHER,1/2"

(48448) 1/2"

3шт.

46

25-118

NUT,1/2"-20, G5

- reg. hex (1/2-20) (48104)

3шт.

47

33526

BUSHING

CUSHION - seat

1шт.

48

NLS

NO LONGER SERVICED

CUSHION - back

1шт.

49

35358

BRACKET - arm rest

2шт.

50

14-616

BOLT,Hex, 3/8" - 24 x 1", Gr 5

HHCS - 3/8-24 NF x 1 (35358 mtg.) (45656)

4шт.

51

92-6

LOCK WASHER,3/8"

(48446) 3/8"

4шт.

52

25-116

NUT,Hex, 3/8"-24, G5

- reg. hex (3/8-24 NF) (48102)

4шт.

53

D27693

ARMREST

ARM REST

2шт.

54

13-412

BOLT,Hex, 1/4" - 20 x 3/4", Gr 5, Full Thd

(34702 mtg.) Hex, 1/4"-20 x 3/4", G5, Full Thd

4шт.

55

92-4

LOCK WASHER,1/4"

WASHER, LOCK, 1/4"

4шт.

56

NSS

NOT SOLD SEPARAT

BATTERY - 6 volt (Order kit #6769) (Used up to ser. #7060716)

2шт.

NLS

NO LONGER SERVICED

BATTERY - 6 volt (Used from ser. #7060716)

2шт.

57

6769

KIT - battery change over (See ref #56)

1шт.

58

39573

BOARD - battery bottom (Used from serial #7060716)

2шт.

59

60782

HOLD DOWN ASS'Y - battery (Used up to serial #7060141)

2шт.

37554

ARM

HOLD DOWN ASS'Y - battery (Used from serial #7060141 serial #7060716)

2шт.

39562

RIGID TUBE

HOLD DOWN ASS'Y - battery (Used from serial #7060716)

2шт.

60

33547

BOLT - angle (Used up to serial #7060716)

4шт.

39565

BOLT - angle (Used from serial #7060716)

4шт.

61

95-5

WASHER,3/8" x 7/8" x .083"

- plain (48405)

4шт.

62

9635082

NUT,5/16" - 18, Gr 5

- reg. SF hex (5/16-18 NC) (47802)

4шт.

63

34806

GUIDE

TANK ASS'Y - fuel RH

1шт.

64

34807

TANK ASS'Y - fuel LH

1шт.

65

14-612

BOLT,Hex, 3/8" - 24 x 3/4", Gr 5, Full Thd

(34806, 34807 mtg.) (45654) Hex, 3/8"-24 x 3/4", G5, Full Thd

4шт.

66

14-614

SCREW,Hex, 3/8" - 24 x 7/8", Gr 5

HHCS - 3/8-24 NF x 7/8 (34806, 34807 mtg.) (45655)

2шт.

67

92-6

LOCK WASHER,3/8"

(48446) 3/8"

6шт.

68

25-116

NUT,Hex, 3/8"-24, G5

- reg. SF hex (3/8-24 NF) (48102)

6шт.

69

CASE10731

FILLER CAP

CAP - fuel

2шт.

70

34753

PLATE ASS'Y - backhoe mtg.

1шт.

71

14-1024

BOLT,Hex, 5/8" - 18 x 1-1/2", Gr 5

(34753 mtg.) (45758) Hex, 5/8"-18 x 1 1/2", G5

8шт.

72

14-1032

BOLT,Hex, 5/8" - 18 x 2", Gr 5

(34753 mtg.) (45760) Hex, 5/8"-18 x 2", G5

4шт.

73

92-10

LOCK WASHER,5/8"

WASHER, LOCK, 5/8"

12шт.

Выбрано товаров: 79