Запчасти Case 600 (022) - GASOLINE ENGINE INSTALLATION, OIL PUMP, STRAINER, OIL PAN, MTG. PARTS (01) - ENGINE

Схема запчастей Case 600 - (022) - GASOLINE ENGINE INSTALLATION, OIL PUMP, STRAINER, OIL PAN, MTG. PARTS (01) - ENGINE
FIT
1:1
100%

Артикул

Название

Примечание

Количество

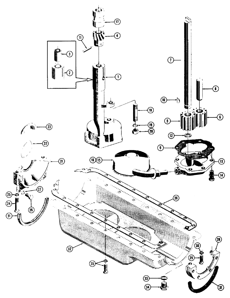
16946

PUMP ASSY - oil, complete

1шт.

1

11489

ANCHOR

BODY ASSY - oil pump

1шт.

2

NSS

NOT SOLD SEPARAT

BODY - oil pump

1шт.

3

NLS

NO LONGER SERVICED

BUSHING - oil pump body

1шт.

5971

BOLT,Hex, 1" - 8 x 6 3/8", Gr 5

REPAIR KIT - oil pump

1шт.

4

10388

TUBE ASSY.

GEAR - oil pump drive

1шт.

5

NLS

NO LONGER SERVICED

GEAR - oil pump driver

1шт.

6

10391

SPARE PART Oil pump idler

1шт.

7

BER10385

SEALING RING COLLAR

SHAFT - oil pump drive

1шт.

8

10392

STUD - oil pump idler gear

1шт.

9

10395

SPARE PART Oil pump, Serial Range: cover-body

1шт.

10

126-9

WOODRUFF KEY,#3, 1/8" x 1/2"

(48753)

1шт.

11

11577

NUT

PIN - oil pump drive gear

1шт.

12

NLS

NO LONGER SERVICED

RING - snap, drive shaft

1шт.

13

11494

COLLAR

COVER - oil pump

1шт.

14

11497

SPARE PART SCREW & LOCKWASHER ASSY - 1/4"-20 NC x 3/4

6шт.

15

11493

BALL BEARING

FLOAT-O ASSY - oil pump

1шт.

16

132-50

COTTER PIN,1/8" x 1 1/4"

(48697)

1шт.

17

REF

INSTRUCTION

SLEEVE - oil pump drive shaft (See figure #10, ref. #19)

1шт.

18

10083

STUD 3/8"-16 NC x 5/8 (16946 mt'g.)

1шт.

19

92-6

LOCK WASHER,3/8"

(48446)

1шт.

20

30438

X

NUT NUT - hex (3/8"-16 NC)

1шт.

21

10105

PIN

BLOCK - rear bearing filler

1шт.

22

REF

INSTRUCTION

SEAL - rear bearing filler block (See page #10, ref. #23)

2шт.

23

REF

INSTRUCTION

GUARD - rear bearing oil (See figure #10, ref. #22)

1шт.

24

10106

SCREW - socket hd., 5/16"-18 NC x 2-5/8 (10105 mt'g.)

2шт.

25

48525

X

WASHER - lock, Shakeproof

2шт.

26

13-410

BOLT,Hex, 1/4" - 20 x 5/8", Gr 5, Full Thd

(10105 mt'g.) (45003)

2шт.

27

92-4

LOCK WASHER,1/4"

(48444)

2шт.

28

10101

PIN

BLOCK - front bearing filler

1шт.

29

10107

SCREW - socket hd. 5/16"-18 NC x 7/8 (10101 mt'g.)

2шт.

30

48525

X

WASHER - lock, Shakeproof

2шт.

31

10015

SPARE PART Filler block to oil pan

2шт.

11484

BALL BEARING

PAN ASSY - oil

1шт.

32

NSS

NOT SOLD SEPARAT

PAN - oil

1шт.

33

VT4520

X

GASKET - oil pan drain plug

1шт.

34

VT4521

X

PLUG - oil pan drain

1шт.

35

10314

LINING

SCREW & LOCKWASHER ASSY - 5/16"-18 NC x 3/4 (11484 mt'g.)

18шт.

36

11062

SPARE PART GASKET - oil pan & filler block

2шт.

Выбрано товаров: 39