Запчасти Case 600 (242) - WINCH CONTROL STAND INSTALLATION, STAND, SPRINGS, LEVERS, MTG. PARTS (05) - UPPERSTRUCTURE CHASSIS

Схема запчастей Case 600 - (242) - WINCH CONTROL STAND INSTALLATION, STAND, SPRINGS, LEVERS, MTG. PARTS (05) - UPPERSTRUCTURE CHASSIS
FIT
1:1
100%

Артикул

Название

Примечание

Количество

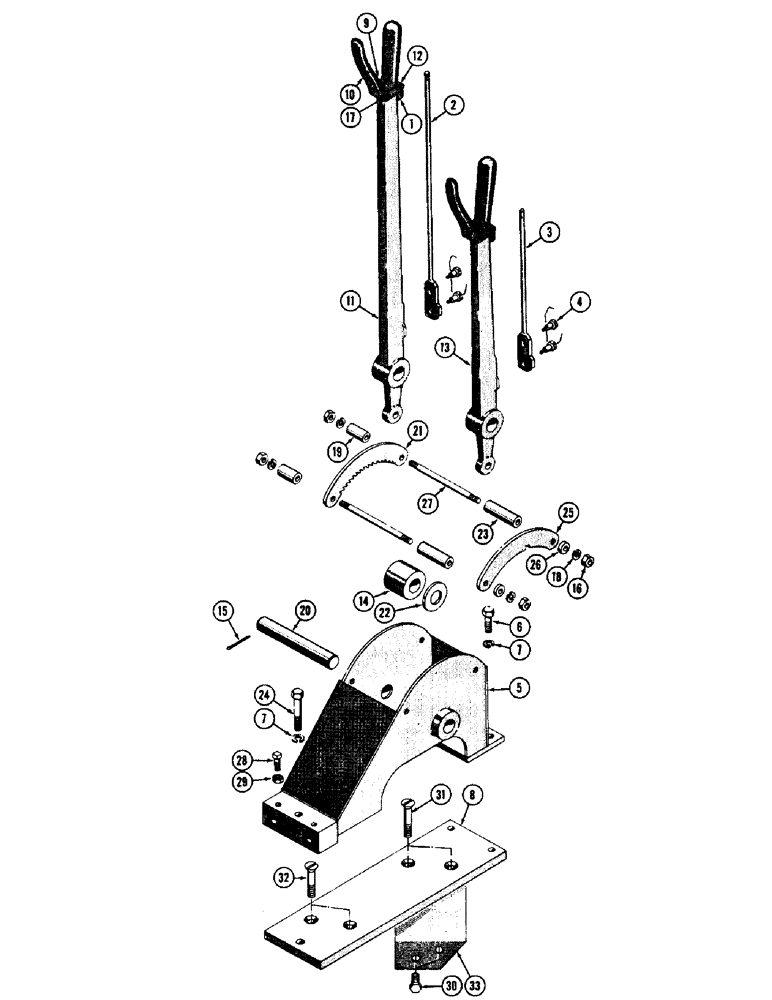
D33979

STAND ASS'Y. - control

1шт.

1

X-06-4

END - rod

2шт.

2

X-07A-26

PAWL & ROD

1шт.

3

X-07B-20B

PAWL & ROD

1шт.

4

X-08

SCREW - pawl

4шт.

5

2210-50

STAND - control

1шт.

6

13-816

BOLT,Hex, 1/2" - 13 x 1", Gr 5, Full Thd

(45106) Hex, 1/2"-13 x 1", G5, Full Thd

2шт.

All part numbers listed above except 13-816, 92-8, 132-102, 25-116, 92-6, and 13-832 must be obtained direct from Carco Winch.

1шт.

7

92-8

LOCK WASHER,1/2"

(48448) 1/2"

3шт.

All part numbers listed above except 13-816, 92-8, 132-102, 25-116, 92-6, and 13-832 must be obtained direct from Carco Winch.

1шт.

8

2210-51

PAD - tapping

1шт.

9

X-03

SPRING - latch

2шт.

10

X-02

LATCH - grip

2шт.

11

103-01-24

LEVER - brake

1шт.

12

X-05

NUT - latch

4шт.

13

103-25-18

LEVER - shift

1шт.

14

101-46

SPACER - lever

1шт.

15

132-102

COTTER PIN,3/16" x 2 1/2"

Pin, Split (Cotter), (48726) 3/16" x 2 1/2"

1шт.

All part numbers listed above except 13-816, 92-8, 132-102, 25-116, 92-6, and 13-832 must be obtained direct from Carco Winch..

1шт.

16

25-116

NUT,Hex, 3/8"-24, G5

- reg. SF hex (3/8-24 NF) (48102)

4шт.

All part numbers listed above except 13-816, 92-8, 132-102, 25-116, 92-6, and 13-832 must be obtained direct from Carco Winch..

1шт.

17

X-04

SCREW - latch

4шт.

18

92-6

LOCK WASHER,3/8"

(48446) 3/8"

4шт.

All part numbers listed above except 13-816, 92-8, 132-102, 25-116, 92-6, and 13-832 must be obtained direct from Carco Winch.

1шт.

19

1877-81-1

SPACER - ratchet

2шт.

20

100-52

SHAFT

1шт.

21

92-14-6

RATCHET

1шт.

22

100-46

SPACER - lever

1шт.

23

101-81

SPACER - ratchet

2шт.

24

13-832

BOLT,Hex, 1/2" - 13 x 2", Gr 5

(45110) Hex, 1/2"-13 x 2", G5

1шт.

All part numbers listed above except 13-816, 92-8, 132-102, 25-116, 92-6, and 13-832 must be obtained direct from Carco Winch.

1шт.

25

93-14-4B

SECTOR

1шт.

26

100-81-1

SPACER - ratchet

2шт.

27

100-53

STUD - ratchet

2шт.

28

85-620

SHSS 3/8-16 NC x 1-1/4

2шт.

29

25-146

JAM NUT,Jam, 3/8"-16, G5

- hex jam (3/8-16 NC) (47892)

2шт.

30

14-824

BOLT,Hex, 1/2" - 20 x 1-1/2", Gr 5

HHCS 1/2-20 NF x 1-1/2 (45708)

2шт.

31

74-828

FHMS 1/2-20 NF x 1-3/4

2шт.

32

74-820

FHMS 1/2-20 NF x 1-1/4

2шт.

33

39270

BRACKET

- fender support

1шт.

Выбрано товаров: 40