Запчасти Case 9007B (8-068) - SWING HYDRAULIC MOTOR (08) - HYDRAULICS

Схема запчастей Case 9007B - (8-068) - SWING HYDRAULIC MOTOR (08) - HYDRAULICS
FIT
1:1
100%

Артикул

Название

Примечание

Количество

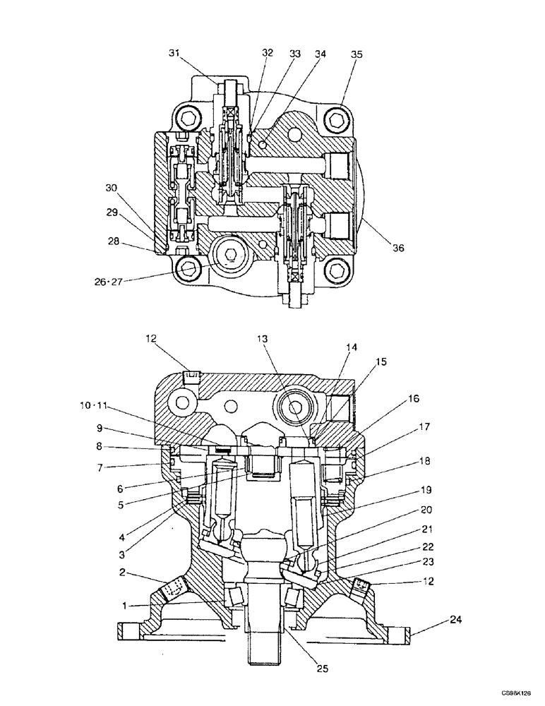
166918A1

MOTOR, HYDRAULIC

Consists Of Ref. Numbers : 1-36

1шт.

1

166995A1

TAPERED BEARING,25 mm ID x 62 mm OD x 18.25 mm

Cone

1шт.

2

151033A1

PLUG

1шт.

3

166864A1

LARGE PLATE

PLATE, LARGE Backing

2шт.

4

166865A1

LARGE PLATE

PLATE, LARGE

2шт.

5

166784A1

RING, SNAP

RING SNAP

1шт.

6

166996A1

NEEDLE BEARING,17 mm ID x 28 mm OD x 12 mm

Needle

1шт.

7

166801A1

O-RING

1шт.

8

166805A1

O-RING

1шт.

9

166880A1

LARGE PLATE

PLATE, LARGE

1шт.

10

166881A1

PISTON

2шт.

11

166879A1

RING

2шт.

12

151026A1

PLUG

3шт.

13

166827A1

BUSHING

4шт.

14

166991A1

SPRING

4шт.

15

166878A1

RING

4шт.

16

166987A1

SPRING

12шт.

17

166866A1

PISTON

1шт.

18

166800A1

O-RING

1шт.

19

NSS

NOT SOLD SEPARAT

Cylinder

1шт.

20

166988A1

SPRING

1шт.

21

NSS

NOT SOLD SEPARAT

Piston

7шт.

22

166867A1

LARGE PLATE

PLATE, LARGE

1шт.

23

166868A1

PLATE

Backing

1шт.

24

NSS

NOT SOLD SEPARAT

Housing

1шт.

25

166783A1

RING

1шт.

26

156263A1

CAP

2шт.

27

154475A1

O-RING

2шт.

28

166953A1

BY-PASS VALVE

By-Pass

2шт.

29

153976A1

BACK-UP RING

2шт.

30

154495A1

O-RING

2шт.

31

166919A1

VALVE, PRESSURE RELI

EF Second. Relief

2шт.

32

153991A1

BACK-UP RING

2шт.

33

154515A1

O-RING

2шт.

34

160859A1

DOWEL

Pin

2шт.

35

863-12030

HEX SOC SCREW,M12 x 30mm, Cl 12.9

M12 x 30; 12.9

4шт.

36

NSS

NOT SOLD SEPARAT

Cover Sheet

1шт.

Выбрано товаров: 37