Запчасти Case 9007B (8-078) - CONTROL VALVE (08) - HYDRAULICS

Схема запчастей Case 9007B - (8-078) - CONTROL VALVE (08) - HYDRAULICS
FIT
1:1
100%

Артикул

Название

Примечание

Количество

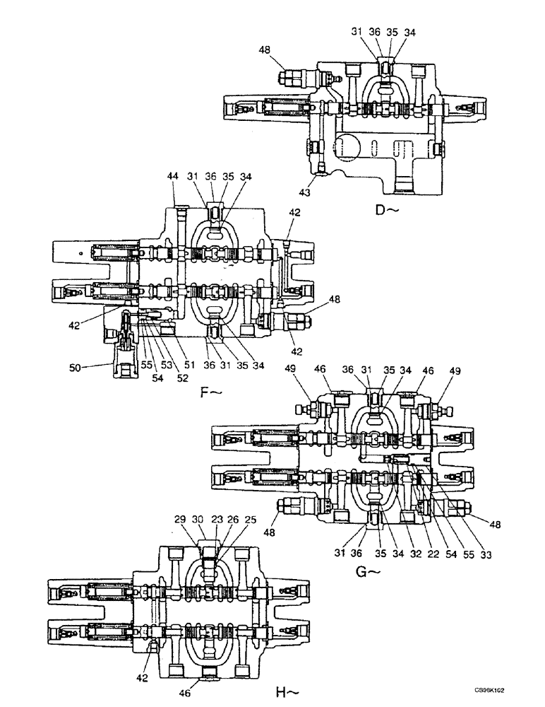
22

166976A1

SPRING

2шт.

23

166944A1

SLEEVE

1шт.

25

166936A1

VALVE POPPET

2шт.

26

166973A1

SPRING

2шт.

29

154503A1

O-RING

4шт.

30

166839A1

PLUG

3шт.

31

154487A1

O-RING

8шт.

32

166938A1

VALVE POPPET

1шт.

33

166835A1

PLUG

1шт.

34

166945A1

VALVE POPPET

8шт.

35

166978A1

SPRING

8шт.

36

166840A1

PLUG

8шт.

42

151022A1

PLUG

4шт.

43

163368A1

PLUG

3шт.

44

163972A1

PLUG

3шт.

46

163370A1

PLUG

3шт.

48

167032A1

VALVE, PRESSURE RELI

EF

4шт.

49

166893A1

SHUT-OFF VALVE

Relief

2шт.

50

166894A1

VALVE

Check

1шт.

52

166979A1

SPRING

1шт.

53

166853A1

SPACER

1шт.

54

155062A1

O-RING

2шт.

55

154402A1

BACK-UP RING

2шт.

Выбрано товаров: 23