Запчасти Case 9007B (9-08) - COUNTERWEIGHT - SOUNDPROOFING (09) - CHASSIS

Схема запчастей Case 9007B - (9-08) - COUNTERWEIGHT - SOUNDPROOFING (09) - CHASSIS
FIT
1:1
100%

Артикул

Название

Примечание

Количество

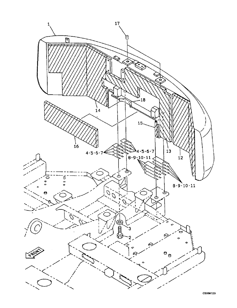
1

166331A1

WEIGHT PACKAGE

Counterweight

1шт.

2

827-24080

BOLT,Hex, M24 x 3 x 80mm, Cl 10.9

4шт.

3

896-11024

WASHER,26mm ID x 44mm OD x 5mm Thk

(26 ID x 44 x 5 mm)

4шт.

4

166313A1

SHIM

Shim, Adjusting

1шт.

5

166314A1

SHIM

Shim, Adjusting

1шт.

6

166315A1

ADJUSTING PLATE

Shim, Adjusting

1шт.

7

166316A1

ADJUSTING PLATE

Shim, Adjusting

1шт.

8

166322A1

ADJUSTING PLATE

Shim, Adjusting

1шт.

9

166323A1

ADJUSTING PLATE

Shim, Adjusting

1шт.

10

166324A1

ADJUSTING PLATE

Shim, Adjusting

1шт.

11

166325A1

ADJUSTING PLATE

Shim, Adjusting

1шт.

12

166383A1

NOISE PROTECTION

Insulation, Soundprooting

1шт.

13

166330A1

NOISE PROTECTION

Insulation, Soundprooting

1шт.

14

166329A1

NOISE PROTECTION

Insulation, Soundprooting

1шт.

15

166327A1

NOISE PROTECTION

Insulation, Soundprooting

1шт.

16

166328A1

NOISE PROTECTION

Insulation, Soundprooting

1шт.

17

157662A1

PLUG

Plastic

2шт.

18

166326A1

GROMMET

Guard

1шт.

Выбрано товаров: 18