Запчасти Case 9007B (9-18) - COWLING - SOUNDPROOFING (09) - CHASSIS

Схема запчастей Case 9007B - (9-18) - COWLING - SOUNDPROOFING (09) - CHASSIS
FIT
1:1
100%

Артикул

Название

Примечание

Количество

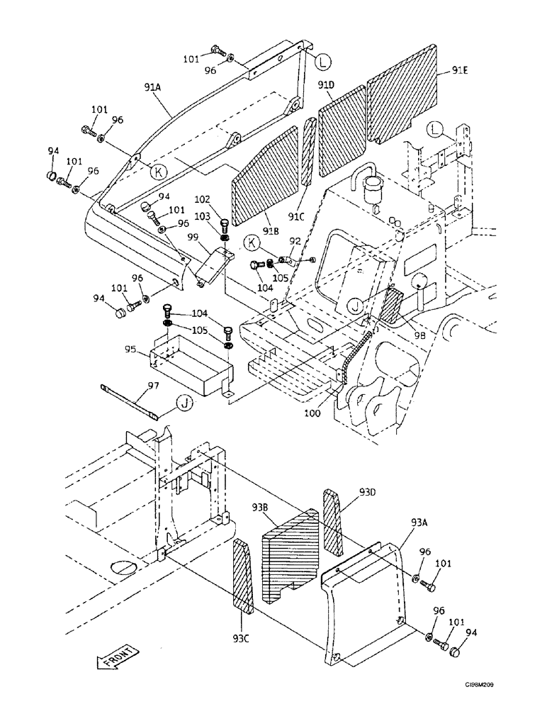
167810A1

COVER

Cowl Assy, Consists Of Ref. Numbers : 91A-91E

1шт.

91a

167804A1

COVER

Cowl

1шт.

91b

167762A1

NOISE PROTECTION

Insulation

1шт.

91c

167773A1

FOAM INSULATION

Insulation

1шт.

91d

167774A1

NOISE PROTECTION

Insulation

1шт.

91e

167788A1

NOISE PROTECTION

Insulation

1шт.

92

167747A1

BRACKET

Support

1шт.

167813A1

COVER

Cowl Assy, Consists Of Ref. Numbers : 93A-93D

1шт.

93a

167803A1

COVER

Cowl

1шт.

93b

167787A1

NOISE PROTECTION

Insulation

1шт.

93c

167784A1

FOAM INSULATION

Insulation

1шт.

93d

167785A1

FOAM INSULATION

Insulation

1шт.

94

167795A1

CAP

7шт.

95

167775A1

TOOL BOX

Storage

1шт.

96

896-11012

WASHER,13.5mm ID x 24mm OD x 3mm Thk

12шт.

97

167910A1

SEALING STRIP

Protector

1шт.

98

167789A1

FOAM INSULATION

Insulation

1шт.

99

167748A1

COVER

Sheet

1шт.

100

167790A1

SEAL

1шт.

101

167894A1

BOLT

Screw

12шт.

102

627-12025

BOLT,Hex, M12 x 1.75 x 25mm, Cl 10.9, Full Thd

1шт.

103

896-15012

WASHER,13.5mm ID x 28mm OD x 4mm Thk

13.5 x 28 x 4 mm

1шт.

104

627-10025

BOLT,Hex, M10 x 1.5 x 25mm, Cl 10.9, Full Thd

4шт.

105

896-11010

WASHER,11mm ID x 21mm OD x 2.5mm Thk

4шт.

Выбрано товаров: 24