Запчасти Case 9007B (9-24) - MAT, FLOOR - OPERATORS COMPARTMENT (09) - CHASSIS

Схема запчастей Case 9007B - (9-24) - MAT, FLOOR - OPERATORS COMPARTMENT (09) - CHASSIS
FIT
1:1
100%

Артикул

Название

Примечание

Количество

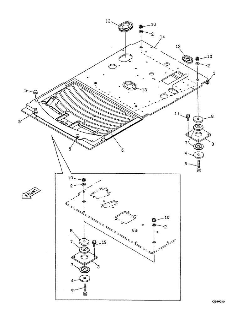
1

162626A1

SEAL

1шт.

2

896-15016

WASHER,17.5mm ID x 34mm OD x 5mm Thk

6шт.

3

167657A1

PASTE

Plate

6шт.

4

150330A1

WASHER

6шт.

5

159489A1

CAP

Plug

3шт.

6

167710A1

FLOOR MAT

1шт.

7

152645A1

INSULATOR BLOCK

RUBBER BLOCK Washer, Special

12шт.

8

167656A1

SPACER

6шт.

9

150882A1

BOLT,High Strength, Hex, M16 x 90mm

Screw

6шт.

10

150760A1

NUT

6шт.

12

162623A1

GROMMET

1шт.

13

162624A1

GROMMET

2шт.

14

167706A1

FLOOR

Cab

1шт.

15

627-10025

BOLT,Hex, M10 x 1.5 x 25mm, Cl 10.9, Full Thd

8шт.

11

627-10030

BOLT,Hex, M10 x 1.5 x 30mm, Cl 10.9, Full Thd

16шт.

Выбрано товаров: 15