Запчасти Case 9007B (9-26) - TRAVEL CONTROL - OPERATORS COMPARTMENT (09) - CHASSIS

Схема запчастей Case 9007B - (9-26) - TRAVEL CONTROL - OPERATORS COMPARTMENT (09) - CHASSIS
FIT
1:1
100%

Артикул

Название

Примечание

Количество

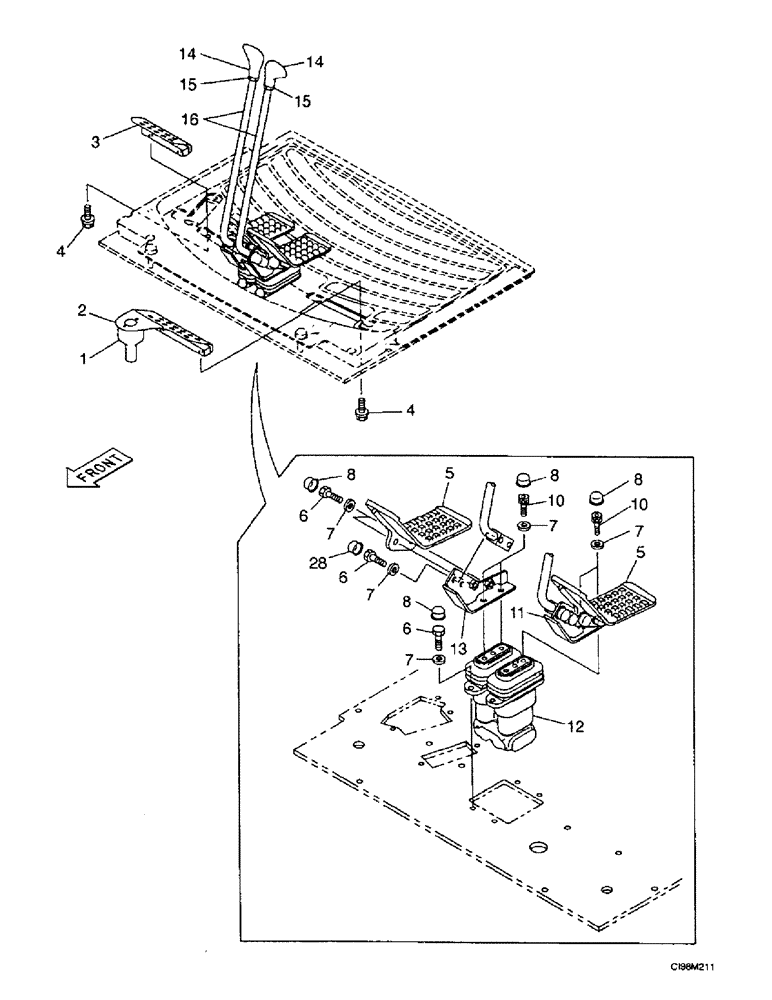
1

159267A1

COVER

Sheet

1шт.

2

159266A1

SUPPORT

1шт.

3

159265A1

SUPPORT

1шт.

4

627-10025

BOLT,Hex, M10 x 1.5 x 25mm, Cl 10.9, Full Thd

4шт.

5

159030A1

PEDAL

2шт.

6

627-10025

BOLT,Hex, M10 x 1.5 x 25mm, Cl 10.9, Full Thd

12шт.

7

896-11012

WASHER,13.5mm ID x 24mm OD x 3mm Thk

4шт.

8

159488A1

CAP

12шт.

9

896-15016

WASHER,17.5mm ID x 34mm OD x 5mm Thk

6шт.

10

165404A1

BOLT,Hex Skt, M10 x 20mm

Screw

4шт.

11

165402A1

BRACKET

Support

1шт.

12

166340A1

CONTROL BLOCK

Remote See Figure : 8-90

1шт.

13

165403A1

BRACKET

Support

1шт.

14

165805A1

KNOB

Grip

2шт.

15

150373A1

NUT

M12; 12.9

2шт.

16

159261A1

LEVER

Control

2шт.

Выбрано товаров: 16