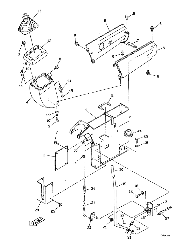
Запчасти Case 9007B (9-34) - HAND CONTROL ARM, LEFT - OPERATORS COMPARTMENT (09) - CHASSIS

Схема запчастей Case 9007B - (9-34) - HAND CONTROL ARM, LEFT - OPERATORS COMPARTMENT (09) - CHASSIS
FIT
1:1
100%

Артикул

Название

Примечание

Количество

1

166455A1

FRAME

1шт.

2

164735A1

TRIM

Protector

1шт.

3

166388A1

COVER

Cover Sheet

1шт.

4

159510A1

COVER

Support

1шт.

5

159512A1

COVER

Sheet, Left

1шт.

6

159511A1

COVER

Sheet, Right

1шт.

7

159319A1

BRACKET

Mount

1шт.

8

627-6012

BOLT,Hex, M6 x 1 x 12mm, Cl 10.9, Full Thd

18шт.

9

159507A1

CARRIAGE BOLT,M6 x 12mm

Screw

2шт.

10

892-11006

LOCK WASHER,M6

4шт.

11

895-11006

WASHER,6.6mm ID x 12mm OD x 1.6mm Thk

4шт.

12

159318A1

SHIN

Cover

1шт.

13

159506A1

BELLOWS

1шт.

14

159509A1

BOLT,Spcl, M6 x 38mm

Screw

2шт.

15

829-1406

NUT,Hex, M6 x 1, Cl 10.9

4шт.

16

166458A1

BRACKET

Mount

1шт.

17

627-10025

BOLT,Hex, M10 x 1.5 x 25mm, Cl 10.9, Full Thd

2шт.

18

896-15010

WASHER,11mm ID x 24mm OD x 3mm Thk

11 x 24 x 3 mm

6шт.

19

166456A1

LEVER

Control

1шт.

20

159547A1

CAP

Grip

1шт.

21

159244A1

RING

Bushing

2шт.

22

166457A1

LINK

Bellcrank

1шт.

24

166447A1

SPRING

1шт.

25

162072A1

SCREW,Pan Hd, M6 x 10mm

4шт.

26

166453A1

GROMMET

Seal, Rubber, Length : 215 mm

1шт.

27

166459A1

LIMIT SWITCH

1шт.

28

166451A1

COVER

Sheet

1шт.

29

627-10025

BOLT,Hex, M10 x 1.5 x 25mm, Cl 10.9, Full Thd

4шт.

30

829-1410

NUT,M10 x 1.5, Cl 10.9

2шт.

31

164508A1

HOOK

1шт.

32

165902A1

COTTER PIN

1шт.

33

165192A1

COTTER PIN

Split

1шт.

34

878-10812

SET SCREW,Hex Skt, M8 x 12mm, Cup Pt

1шт.

Выбрано товаров: 33