Запчасти Case 9007B (9-50) - CAB AIR CONDITIONING - AIR CIRCUIT (09) - CHASSIS

Схема запчастей Case 9007B - (9-50) - CAB AIR CONDITIONING - AIR CIRCUIT (09) - CHASSIS
FIT
1:1
100%

Артикул

Название

Примечание

Количество

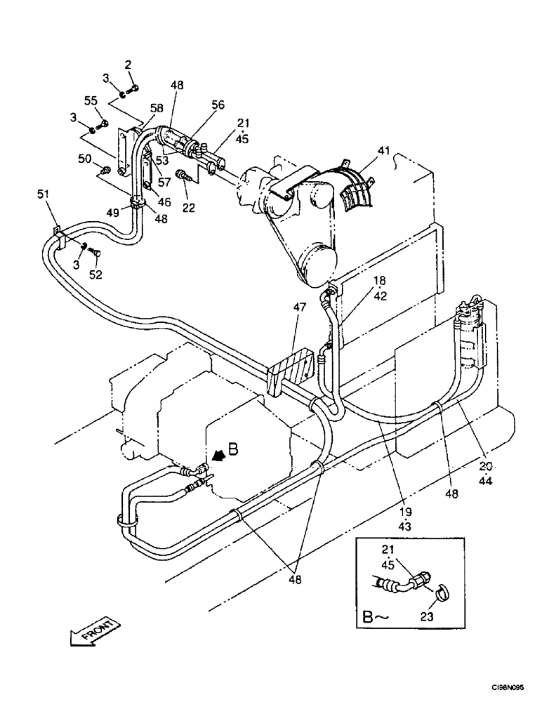
2

627-10020

BOLT,Hex, M10 x 1.5 x 20mm, Cl 10.9, Full Thd

2шт.

3

892-11010

LOCK WASHER,M10

3шт.

18

167339A1

A/C HOSE

1шт.

19

168175A1

A/C HOSE

1шт.

20

168176A1

A/C HOSE

1шт.

21

167340A1

A/C HOSE

1шт.

22

162457A1

SPECIAL BOLT,Spcl

2шт.

23

157294A1

TAPE

Plate

1шт.

41

167224A1

GUARD ASSY.

Grating

1шт.

42

158066A1

PLASTIC-RUBBER TUBE

Sleeve, Hose 2300 mm (90-5/8 in)

1шт.

43

150774A1

PLASTIC-RUBBER TUBE

Sleeve, Hose 1000 mm (39-3/8 in)

1шт.

44

151736A1

PLASTIC-RUBBER TUBE

Sleeve, Hose

1шт.

45

157308A1

PLASTIC-RUBBER TUBE

Sleeve, Hose

1шт.

46

167283A1

COVER

Sheet

1шт.

47

167281A1

SEAL

Insulation

1шт.

48

D150798

STRAP

Clip, Mounting

4шт.

49

150860A1

COLLAR

Base

1шт.

50

840-168

SCREW,Pan, M6 x 1 x 8mm, Cl 4.8

10.9

1шт.

51

152762A1

CLAMP

Bracket

1шт.

52

627-10025

BOLT,Hex, M10 x 1.5 x 25mm, Cl 10.9, Full Thd

1шт.

53

L18337

CABLE TIE,9.95"-12.1" lg

CABLE STRAP Tie, 15 inch, nylon

1шт.

55

627-10035

BOLT,Hex, M10 x 1.5 x 35mm, Cl 10.9, Full Thd

2шт.

56

167289A1

RUBBER INSULATOR

Protector

1шт.

57

167290A1

LINING

Seal

1шт.

58

167291A1

LINING

Seal

1шт.

Выбрано товаров: 25