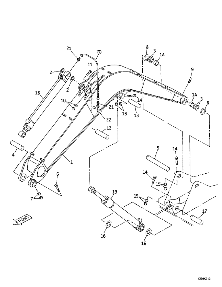
Запчасти Case 9007B (9-68) - LUBRICATION CIRCUIT - BOOM, LUBRICATION CIRCUIT, DIPPER CYLINDER (09) - CHASSIS

Схема запчастей Case 9007B - (9-68) - LUBRICATION CIRCUIT - BOOM, LUBRICATION CIRCUIT, DIPPER CYLINDER (09) - CHASSIS
FIT
1:1
100%

Артикул

Название

Примечание

Количество

168294A1

BOOM

Consists of: Ref. nos. 1, 1A

1шт.

1

NSS

NOT SOLD SEPARAT

Boom, Consists of: Ref. nos. 1A-1J

1шт.

Part of Boom, P/N 168294A1

1шт.

1a

166407A1

BUSHING

Bushing

1шт.

Part of Boom, P/N 168294A1

1шт.

2

166403A1

WASHER

1шт.

3

160674A1

SEAL,65mm ID x 80mm OD x 5mm Thk

4шт.

4

166390A1

PIN

1шт.

5

166412A1

PIN

1шт.

6

514-1035

BOLT,Hex, M16 x 1.5 x 120mm, Cl 10.9

Hex, M16 x 1.5 x 120, 10.9

1шт.

7

829-13416

NUT,M16 x 1.5, Cl 10

M16; 10

2шт.

8

161643A1

SHIM,66mm ID x 130mm OD x 1.2mm Thk

Adjusting

1шт.

9

153631A1

LUBE NIPPLE,1/8"-27 NPT

Fitting, Grease

1шт.

10

829-11412

NUT,M12 x 1.25, Cl 10

2шт.

11

514-862

BOLT,Hex, M12 x 1.25 x 110mm, Cl 10.9

Screw M12 x 110; 10.9

1шт.

12

166391A1

PIN

1шт.

13

166406A1

PIN

1шт.

14

514-1111

BOLT,Hex, M16 x 1.5 x 130mm, Cl 10.9

Hex, M16 x 1.5 x 130, 10.9

3шт.

15

829-13416

NUT,M16 x 1.5, Cl 10

M16; 10

6шт.

16

152661A1

SHIM,66mm ID x 120mm OD x 1.2mm Thk

Adjusting 1,30 mm (0,051 in)

1шт.

17

166413A1

PIN

1шт.

18

166431A1

HYDRAULIC CYLINDER

Dipperstick See Figure : 8-98

1шт.

19

166430A1

HYDRAULIC CYLINDER

Boom See Figure : 8-94

1шт.

20

167033A1

LARGE HOSE

HOSE,LARGE Pipe, lubrication circuit dipper cylinder

1шт.

21

150190A1

FITTING

Union, lubrication circuit dipper cylinder

2шт.

22

153630A1

LUBE NIPPLE

Fitting, Grease, lubrication circuit dipper cylinder

1шт.

Выбрано товаров: 26