Запчасти Case 9007B (2-02) - ENGINE - COOLER (02) - ENGINE

Схема запчастей Case 9007B - (2-02) - ENGINE - COOLER (02) - ENGINE
FIT
1:1
100%

Артикул

Название

Примечание

Количество

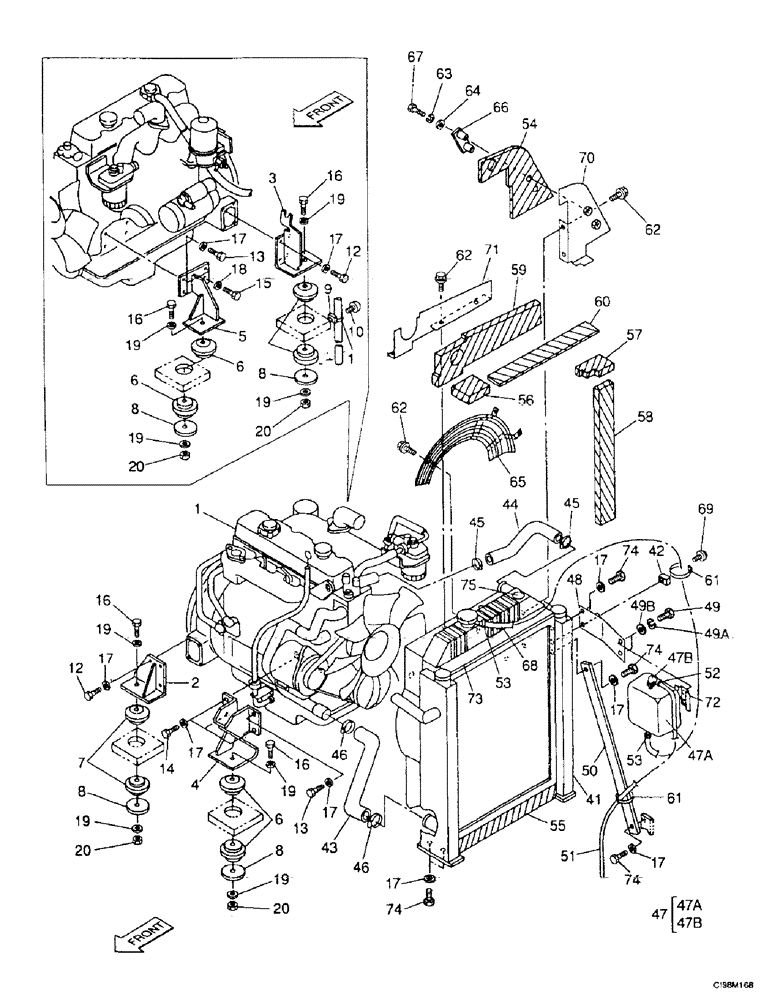
1

168163A1

ENGINE ASSEMBLY

ENGINE ASSY Consists Of Figures : 2-12, 2-48, 3-10, 3-30, 4-2, 4-4

1шт.

1

168831A1EC

CORE-ENGINE

Environmental Core, For N.A. Only

1шт.

2

167622A1

SUPPORT

Mount

1шт.

3

167615A1

SUPPORT

Mount

1шт.

4

167617A1

SUPPORT

Mount

1шт.

5

167616A1

SUPPORT

Mount

1шт.

6

167594A1

RUBBER

Insulator Block

4шт.

7

167595A1

RUBBER

Insulator Block

4шт.

8

167591A1

PLATE

Washer

4шт.

9

150860A1

COLLAR

Base

1шт.

10

840-168

SCREW,Pan, M6 x 1 x 8mm, Cl 4.8

10.9

1шт.

11

150067A1

MOUNTING CLIP

Clamp

1шт.

13

167836A1

BOLT,High Strength, M10 x 25mm

Screw

4шт.

14

167189A1

BOLT,Spcl, M10 x 1.25 x 20mm

Screw

3шт.

15

167191A1

BOLT

Screw

1шт.

16

827-16120

BOLT,Hex, M16 x 2 x 120mm, Cl 10.9

4шт.

17

896-15010

WASHER,11mm ID x 24mm OD x 3mm Thk

11 x 24 x 3 mm

21шт.

18

167193A1

WASHER

1шт.

19

896-11016

WASHER,17.5mm ID x 30mm OD x 4mm Thk

8шт.

20

829-1416

NUT,M16, Cl 10

4шт.

Ref. 41 167611A1 is a production level radiator assy number not used for service. It should be considered to be NSS. See Figure 2-10 for prime raditor and other parts to be used.

1шт.

41

167611A1

RADIATOR

See Figure : 2-10

1шт.

42

150860A1

COLLAR

Base

1шт.

43

167613A1

RADIATOR HOSE

1шт.

44

167631A1

RADIATOR HOSE

1шт.

45

150881A1

CLIP,ELECTRICAL

Clamp

2шт.

46

150885A1

COLLAR

2шт.

47

167602A1

RESERVOIR, COOLANT E

Assy, Consists Of Ref. Numbers : 47A, 47B

1шт.

47a

167818A1

TANK

Expansion

1шт.

47b

167819A1

CAP

Plug

1шт.

48

167635A1

BRACKET

Plate

1шт.

49

627-6016

BOLT,Hex, M6 x 1 x 16mm, Cl 10.9, Full Thd

2шт.

49a

892-11006

LOCK WASHER,M6

2шт.

49b

895-11006

WASHER,6.6mm ID x 12mm OD x 1.6mm Thk

2шт.

50

167605A1

BAR

Plate

1шт.

51

167845A1

HOSE,850.00 mm

1шт.

52

165952A1

MOUNTING CLIP

Clamp

1шт.

53

165951A1

CLAMP

2шт.

54

167627A1

SEAL

Insulation

1шт.

55

167603A1

SEAL

Insulation

1шт.

56

167608A1

SEAL

Insulation

1шт.

57

167609A1

SEAL

Insulation

1шт.

58

167610A1

SEAL

Insulation

1шт.

59

167626A1

SEAL

Insulation

1шт.

60

167604A1

SEAL

Insulation

1шт.

61

150496A1

MOUNTING CLIP

Clip, Mounting

2шт.

62

627-8020

BOLT,Hex, M8 x 1.25 x 20mm, Cl 10.9, Full Thd

8шт.

63

892-11008

LOCK WASHER,8mm ID

10шт.

64

895-11008

WASHER,9mm ID x 16mm OD x 1.6mm Thk

7шт.

65

167632A1

GUARD ASSY.

Grating, Fan

1шт.

66

167630A1

SEAL

Holder

1шт.

68

167850A1

HOSE

1шт.

69

840-168

SCREW,Pan, M6 x 1 x 8mm, Cl 4.8

10.9

1шт.

70

167629A1

COVER

Support

1шт.

71

167628A1

COVER

Support

1шт.

72

167589A1

SUPPORT

Mount

1шт.

73

167796A1

LINING

Protector

1шт.

74

627-10025

BOLT,Hex, M10 x 1.5 x 25mm, Cl 10.9, Full Thd

8шт.

75

151885A1

DECAL

1шт.

NAPO Tech 3/31/99

1шт.

67

627-8030

BOLT,Hex, M8 x 1.25 x 30mm, Cl 10.9, Full Thd

2шт.

12

627-10030

BOLT,Hex, M10 x 1.5 x 30mm, Cl 10.9, Full Thd

8шт.

Выбрано товаров: 0