Качественные детали и логистика
Оригинальные и аналоговые запчасти с доставкой по России, Казахстану и Беларуси
©2022 PartSell ООО "Система" ИНН 2463123282 ОГРН 1212400004838
Центральный офис: г. Красноярск, Академика Киренского, д.87, пом.4
Телефон: 8 (800) 777-65-74 Email: zakaz@partsell.ru
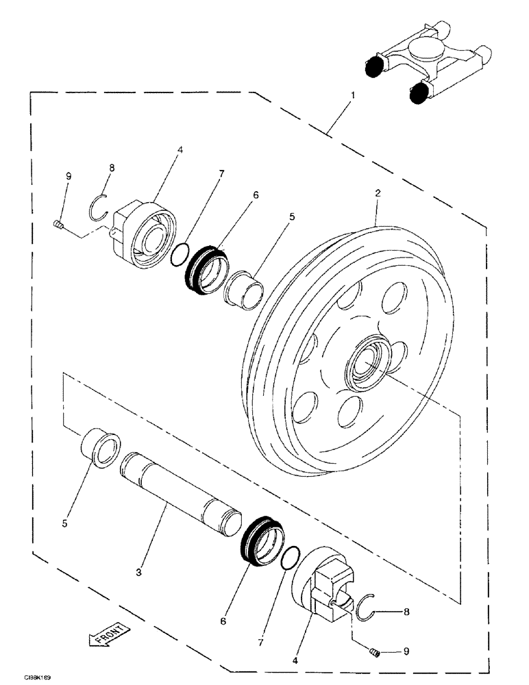
(5-16) - GUIDE PULLEY - RUBBER TRACK
№
Артикул
Название
Примечание
Количество
1
166283A1
FLEETING PULLEY
Idler, Consists Of Ref. Numbers : 2-9
2шт.
2
166284A1
1шт.
3
166260A1
SHAFT
Pin
4
166261A1
HUB
Support
5
166266A1
BUSHING
6
150737A1
SEAL
7
154567A1
O-RING
8
160396A1
CLIP
Ring, Snap
9
158352A1
PLUG
Выбрано товаров: 0