Качественные детали и логистика
Оригинальные и аналоговые запчасти с доставкой по России, Казахстану и Беларуси
©2022 PartSell ООО "Система" ИНН 2463123282 ОГРН 1212400004838
Центральный офис: г. Красноярск, Академика Киренского, д.87, пом.4
Телефон: 8 (800) 777-65-74 Email: zakaz@partsell.ru
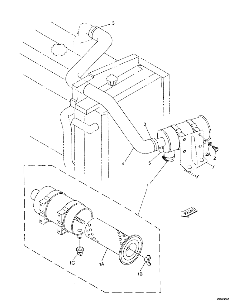
(2-06) - AIR FILTRATION
№
Артикул
Название
Примечание
Количество
1
168160A1
CLEANER ASSY.
Air, Consists Of Ref. Numbers : 1A, 1G, 1H
1шт.
1a
167815A1
AIR FILTER
Element, External
1b
156497A1
WING NUT
1c
156669A1
VALVE
Dust
2
627-8020
BOLT,Hex, M8 x 1.25 x 20mm, Cl 10.9, Full Thd
4шт.
2a
896-11008
WASHER,9mm ID x 17mm OD x 2mm Thk
9 x 17 x 2 mm
3
157287A1
COLLAR
2шт.
4
167612A1
AIR HOSE
Hose
5
167192A1
INDICATOR
Выбрано товаров: 0