Запчасти Case 9007B (9-47) - AIR CONDITIONER - CONDENSER (12) - CHASSIS

Схема запчастей Case 9007B - (9-47) - AIR CONDITIONER - CONDENSER (12) - CHASSIS
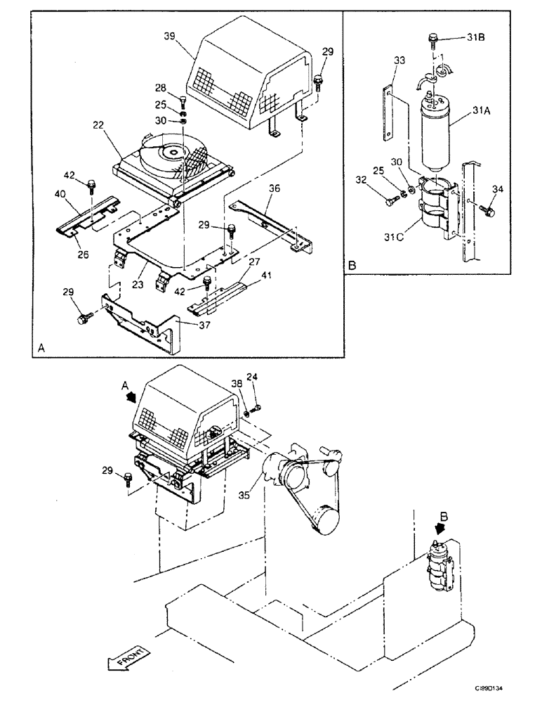
37
42
42
25
29
24
29
40
39
31a
36
35
32
34
30
41
29
31c
27
31b
22
28
23
33
29
26
25
38
30
FIT
1:1
100%

Артикул

Название

Примечание

Количество

22

168617A1

CONDENSER

1шт.

23

167300A1

SUPPORT

1шт.

24

827-10050

BOLT,Hex, M10 x 1.5 x 50mm, Cl 10.9

2шт.

25

892-11006

LOCK WASHER,M6

8шт.

26

167296A1

COVER

1шт.

27

167297A1

COVER

1шт.

28

827-6070

BOLT,Hex, M6 x 70mm, Cl 10.9

6шт.

29

166052A1

BOLT

12шт.

30

895-11006

WASHER,6.6mm ID x 12mm OD x 1.6mm Thk

8шт.

31a

KHR3751

RECEIVER-DRYER

Replaces 167528A1 (includes high/low press switch)

1шт.

31b

162043A1

BOLT,Spcl, M6

2шт.

31c

159635A1

SUPPORT

1шт.

32

627-6020

BOLT,Hex, M6 x 1 x 20mm, Cl 10.9, Full Thd

2шт.

33

167278A1

BRACKET

1шт.

34

166350A1

BOLT

2шт.

35

164730A1

COMPRESSOR

See Figure(s) : 2-48

1шт.

36

167298A1

BRACKET

1шт.

37

167299A1

BRACKET

1шт.

38

150409A1

WASHER

10.5 x 21 x 3.2 mm

2шт.

39

167304A1

COVER

1шт.

40

167294A1

LINING

1шт.

41

167295A1

LINING

1шт.

42

167320A1

BOLT,Spcl, M8 x 20mm

6шт.

Выбрано товаров: 23