Запчасти Case 9007B (3-02) - FUEL TANK (03) - FUEL SYSTEM

Схема запчастей Case 9007B - (3-02) - FUEL TANK (03) - FUEL SYSTEM
FIT
1:1
100%

Артикул

Название

Примечание

Количество

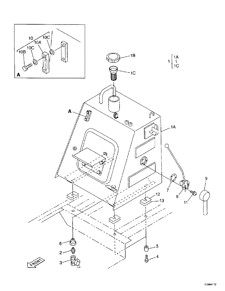
1

167637A1

FUEL TANK

Consists Of Ref. Numbers : 1A, 1B, 1C

1шт.

1a

167638A1

FUEL TANK

Reservoir

1шт.

1b

167848A1

CAP

Plug

1шт.

1c

167847A1

FILTER

Strainer

1шт.

2

150847A1

HYD CONNECTOR

Fitting

1шт.

3

158923A1

DRAIN VALVE

Shut-Off

1шт.

4

827-16060

BOLT,Hex, M16 x 2 x 60mm, Cl 10.9

4шт.

5

153357A1

SPACER

4шт.

6

159188A1

BUSHING

1шт.

7

152591A1

GASKET,2mm Thk

1шт.

8

167821A1

SENSOR

Gauge, Fuel

1шт.

9

167906A1

PROTECTION CAP

Sheet

1шт.

10

167846A1

GAUGE

Sight, Consists Of Ref. Numbers : 10A, 10B, 10C

1шт.

10a

167849A1

GAUGE

Indicator

1шт.

10b

159492A1

BOLT

Screw

2шт.

10c

159493A1

SEALING WASHER

SEAL WASHER Ring Packing

4шт.

11

151688A1

SCREW,Phil Pan Hd, M5 x 12mm, W/ Wshr

5шт.

12

150166A1

SHIM

Adjusting, 0.80 mm (0.032 in)

4шт.

13

150479A1

SHIM

Adjusting, 2.00 mm (0.079 in)

4шт.

Выбрано товаров: 19