Запчасти Case 9007B (3-26) - FUEL LIFT PUMP (03) - FUEL SYSTEM

Схема запчастей Case 9007B - (3-26) - FUEL LIFT PUMP (03) - FUEL SYSTEM
FIT
1:1
100%

Артикул

Название

Примечание

Количество

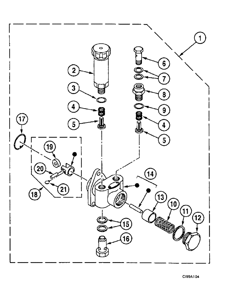
1

355643A1

FEED PUMP

Consists Of Ref. Numbers : 2-18

1шт.

2

355884A1

SCREW

1шт.

3

289326A1

O-RING

Seal

1шт.

4

289973A1

SPRING

2шт.

5

355885A1

SPRING SEAT

2шт.

6

355411A1

BANJO BOLT

Bolt Banjo

1шт.

7

355407A1

GASKET

2шт.

8

289313A1

ADAPTER

1шт.

9

289326A1

O-RING

Seal

1шт.

10

355894A1

SPRING

1шт.

11

355895A1

GASKET

1шт.

12

355896A1

PLUG

1шт.

13

289969A1

PISTON

1шт.

14

355893A1

HOUSING

Housing

1шт.

15

355407A1

GASKET

2шт.

16

355890A1

BOLT

Bolt Banjo

1шт.

17

289974A1

RING

Snap

1шт.

18

355897A1

END FITTING

Consists Of Ref. Numbers : 19-21

1шт.

19

355898A1

SPACER

Bushing

1шт.

20

355899A1

SPLIT PIN/SAFETY PIN

1шт.

21

355900A1

GUIDE

1шт.

Выбрано товаров: 21