Запчасти Case 9007B (4-18) - ELECTRICAL CIRCUIT - OPERATORS COMPARTMENT (04) - ELECTRICAL SYSTEMS

Схема запчастей Case 9007B - (4-18) - ELECTRICAL CIRCUIT - OPERATORS COMPARTMENT (04) - ELECTRICAL SYSTEMS
FIT
1:1
100%

Артикул

Название

Примечание

Количество

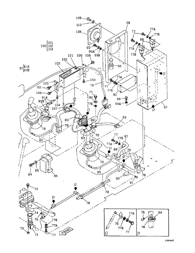
71

159921A1

SWITCH, CRUISE INC/D

1шт.

72

159922A1

SCREW,Pan Hd, M5 x 20mm

2шт.

73

825-1405

NUT,M5, Cl 8

2шт.

74

160663A1

PACKING

Seal

1шт.

75

158962A1

CLIP

2шт.

76

840-168

SCREW,Pan, M6 x 1 x 8mm, Cl 4.8

10.9

7шт.

77

627-6012

BOLT,Hex, M6 x 1 x 12mm, Cl 10.9, Full Thd

19шт.

77a

892-11006

LOCK WASHER,M6

18шт.

77b

895-11006

WASHER,6.6mm ID x 12mm OD x 1.6mm Thk

19шт.

78

D150798

STRAP

Clip, Mounting

9шт.

79

167273A1

HARNESS

1шт.

80

167338A1

HARNESS

1шт.

81

162217A1

IGNITION SWITCH

Consists Of Ref. Numbers : 81A, 81B

1шт.

REF. 81A (150979A1 KEY) COMES AS A SET OF 2 KEYS. IF YOU ORDER 1 PC YOU WILL GET A SET OF 2. NAPO TECH.

1шт.

81a

150979A1

IGNITION KEY

2шт.

81b

NSS

NOT SOLD SEPARAT

Switch

1шт.

82

893-11006

LOCK WASHER,Ext Tooth, M6

1шт.

83

L18337

CABLE TIE,9.95"-12.1" lg

CABLE STRAP Tie, 15 inch, nylon

5шт.

84

862-6020

HEX SOC SCREW,M6 x 20mm, Cl 12.9

2шт.

85

892-11006

LOCK WASHER,M6

2шт.

86

167333A1

BOX, FUSE

1шт.

87

168172A1

HARNESS

1шт.

88

159919A1

RELAY

12шт.

89

159024A1

COLLAR

Clip, Mounting

1шт.

90

167341A1

TESTER

Box

1шт.

91

167323A1

SCREW

2шт.

92

167285A1

COVER

Sheet

1шт.

93

627-6016

BOLT,Hex, M6 x 1 x 16mm, Cl 10.9, Full Thd

4шт.

93a

892-11006

LOCK WASHER,M6

4шт.

93b

895-11006

WASHER,6.6mm ID x 12mm OD x 1.6mm Thk

4шт.

94

150860A1

COLLAR

Base

7шт.

95

167337A1

HARNESS

1шт.

96

159920A1

LIGHTER, CIGARETTE

1шт.

97

167286A1

BRACKET

Mount

1шт.

98

167287A1

COVER

Sheet

1шт.

99

627-10025

BOLT,Hex, M10 x 1.5 x 25mm, Cl 10.9, Full Thd

4шт.

99a

896-11010

WASHER,11mm ID x 21mm OD x 2.5mm Thk

4шт.

100

159940A1

RADIO

Auto Consists Of Ref. Numbers : 101, 102, 103

7шт.

101

159941A1

SET OF PARTS

Button

1шт.

102

159942A1

SET OF PARTS

Cover Sheet

1шт.

103

NSS

NOT SOLD SEPARAT

Body

1шт.

104

159945A1

SCREW,Truss Hd

4шт.

105

159944A1

SUPPORT

2шт.

106

157537A1

SCREW

3шт.

107

152500A1

CABLE ASSY.

Aerial

1шт.

108

159946A1

SPEAKER

Loud

1шт.

109

159947A1

SCREW,Phil Pan Head, M4 x 12mm

4шт.

110

160383A1

SPRING WASHER

4шт.

111

167280A1

BOLT,Spcl, M5 x 8mm

Screw

1шт.

Выбрано товаров: 49