Запчасти Case 9007B (6-10) - SWING REDUCTION GEAR (06) - POWER TRAIN

Схема запчастей Case 9007B - (6-10) - SWING REDUCTION GEAR (06) - POWER TRAIN
FIT
1:1
100%

Артикул

Название

Примечание

Количество

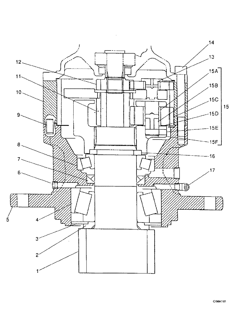
166921A1

PLANETARY REDUCER

Consists Of Ref. Numbers : 1-15, 16, 17

1шт.

1

NSS

NOT SOLD SEPARAT

Shaft

1шт.

2

166869A1

COLLAR

Cover Sheet

1шт.

3

166870A1

LARGE PLATE

PLATE, LARGE

1шт.

4

166997A1

TAPERED BEARING,65 mm ID x 140 mm OD x 48 mm

M16 x 50

1шт.

5

NSS

NOT SOLD SEPARAT

Body

1шт.

6

151022A1

PLUG

1шт.

7

166785A1

OIL SEAL

Shaft

1шт.

8

166998A1

TAPERED BEARING,65 mm ID x 120 mm OD x 24.75 mm

Cone

1шт.

9

166871A1

COTTER PIN

2шт.

10

166813A1

PINION

Ring, Gear

1шт.

11

166814A1

GEAR

1шт.

12

166815A1

SUN GEAR

Sun

1шт.

13

167031A1

HOLDER

Carrier, Pinion

1шт.

14

862-12095

HEX SOC SCREW,M12 x 95mm, Cl 12.9

Screw M12 x 95

6шт.

15

166920A1

HOLDER

Carrier, Pinion, Consists Of Ref. Numbers : 15A-15F

1шт.

15a

NSS

NOT SOLD SEPARAT

Bushing

3шт.

15b

NSS

NOT SOLD SEPARAT

Shaft

3шт.

15c

NSS

NOT SOLD SEPARAT

Gear, Satellite

3шт.

15d

NSS

NOT SOLD SEPARAT

Plate

3шт.

15e

NSS

NOT SOLD SEPARAT

Pin

3шт.

15f

NSS

NOT SOLD SEPARAT

Support

1шт.

16

166872A1

COLLAR

Ring, Snap

2шт.

17

153631A1

LUBE NIPPLE,1/8"-27 NPT

Fitting, Grease

1шт.

Выбрано товаров: 24