Запчасти Case 9007B (8-002) - HYDRAULIC RESERVOIR (08) - HYDRAULICS

Схема запчастей Case 9007B - (8-002) - HYDRAULIC RESERVOIR (08) - HYDRAULICS
FIT
1:1
100%

Артикул

Название

Примечание

Количество

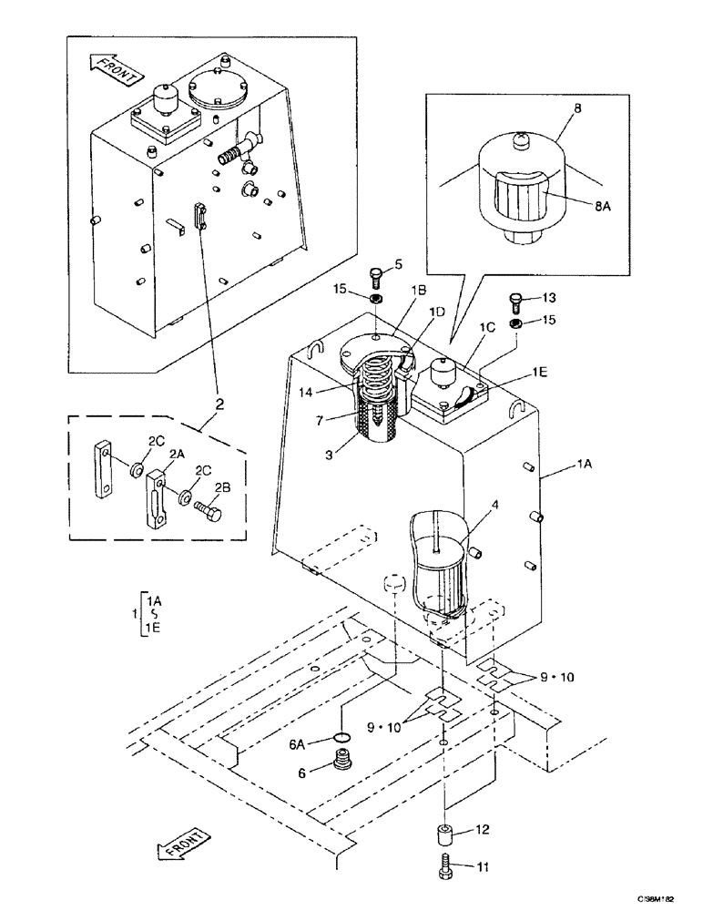
1

167695A1

TANK, HYDRAULIC OIL

Reservoir Assy, Consists Of Ref. Numbers : 1A-1E

1шт.

1a

167690A1

TANK, HYDRAULIC OIL

1шт.

1b

161154A1

COVER

Filter

1шт.

1c

167703A1

COVER

Sheet

1шт.

1d

154776A1

O-RING

1шт.

1e

154796A1

O-RING

1шт.

2

167856A1

GAUGE

Sight, Consists Of Ref. Numbers : 2A-2C

1шт.

2a

167859A1

GAUGE

Body

1шт.

2b

159492A1

BOLT

Screw

2шт.

2c

159493A1

SEALING WASHER

SEAL WASHER Ring, Packing

4шт.

3

167642A1

HYDRAULIC OIL FILTER

Oil

1шт.

4

167659A1

STRAINER ASSY.

1шт.

5

627-10025

BOLT,Hex, M10 x 1.5 x 25mm, Cl 10.9, Full Thd

4шт.

6

152924A1

PLUG

Consists Of Ref. Number : 6A

1шт.

6a

154503A1

O-RING

1шт.

7

153191A1

VALVE

Press. Relief

1шт.

8

167696A1

BREATHER

Consists Of Ref. Number : 8A

1шт.

8a

167704A1

HYDRAULIC OIL FILTER

Element, Filter

1шт.

9

150166A1

SHIM

Adjusting 0.80 mm (0,032 in)

4шт.

10

150479A1

SHIM

Adjusting 2.00 mm (0,079 in)

4шт.

11

86900235

BOLT,Hex, M16 x 55mm, Cl 10.9, Full Thd

Hex, M16 x 55, 10.9, Full Thd

4шт.

12

153357A1

SPACER

4шт.

14

161155A1

SPRING

1шт.

15

896-11010

WASHER,11mm ID x 21mm OD x 2.5mm Thk

8шт.

13

627-10030

BOLT,Hex, M10 x 1.5 x 30mm, Cl 10.9, Full Thd

4шт.

Выбрано товаров: 25