Запчасти Case 9007B (8-008) - HYDRAULIC CIRCUIT - CONTROL VALVE SUPPLY (08) - HYDRAULICS

Схема запчастей Case 9007B - (8-008) - HYDRAULIC CIRCUIT - CONTROL VALVE SUPPLY (08) - HYDRAULICS
FIT
1:1
100%

Артикул

Название

Примечание

Количество

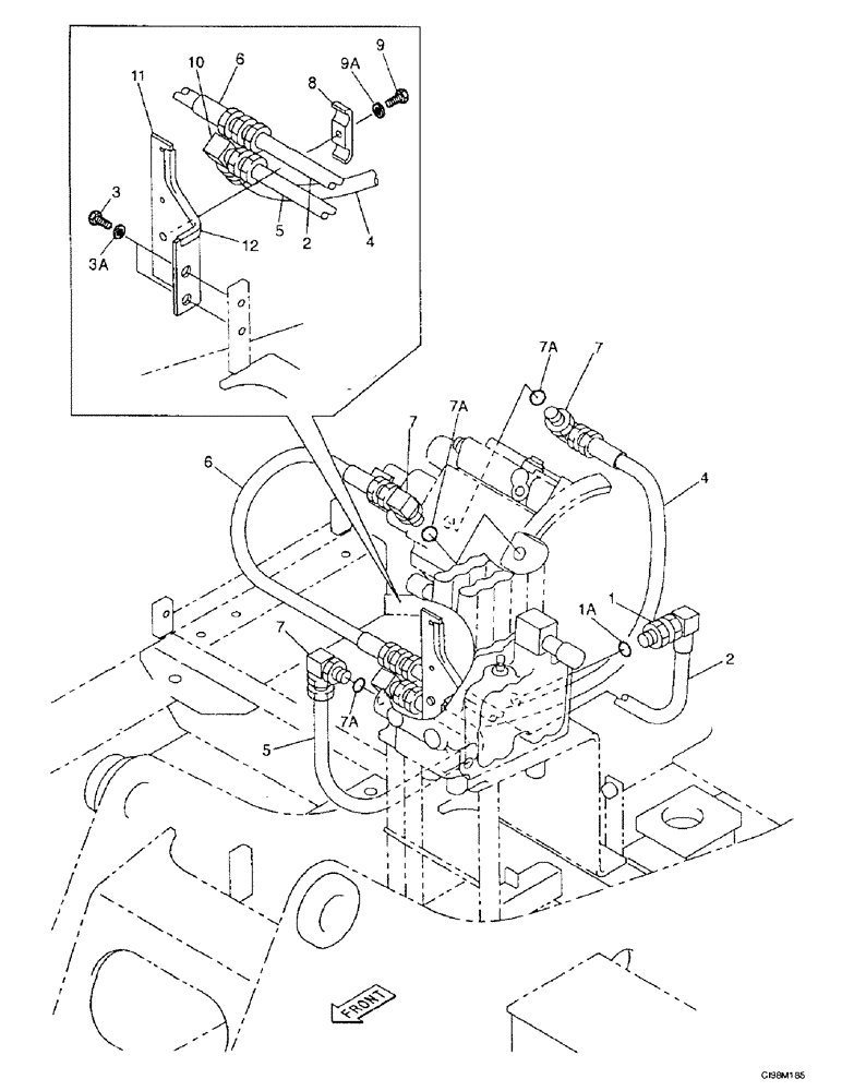
1

151654A1

HYD CONNECTOR,3/4" NPT O-Ring x 3/4" NPT

Union, Consists Of Ref. Number : 1A

1шт.

1a

154503A1

O-RING

1шт.

2

167658A1

TUBE ASSY.

Pipe

1шт.

3

627-12025

BOLT,Hex, M12 x 1.75 x 25mm, Cl 10.9, Full Thd

2шт.

3b

896-15012

WASHER,13.5mm ID x 28mm OD x 4mm Thk

13.5 x 28 x 4 mm

2шт.

4

162211A1

HYDRAULIC HOSE,19.00 mm ID x 600.00 mm

1шт.

5

167697A1

TUBE ASSY.

Pipe

1шт.

6

167699A1

HYDRAULIC HOSE,800.00 mm

1шт.

7

159372A1

ELBOW

Consists Of Ref. Number : 7A

3шт.

7a

154503A1

O-RING

1шт.

8

152742A1

COLLAR

Bracket

1шт.

9

827-12060

BOLT,Hex, M12 x 1.75 x 60mm, Cl 10.9

1шт.

9a

896-11012

WASHER,13.5mm ID x 24mm OD x 3mm Thk

1шт.

10

167908A1

ELBOW

1шт.

11

167676A1

BRACKET

Mount

1шт.

12

167651A1

GROMMET

Protector

1шт.

Выбрано товаров: 16