Запчасти Case 9010 (8-46) - 150501A1 SOLENOID VALVE (08) - HYDRAULICS

Схема запчастей Case 9010 - (8-46) - 150501A1 SOLENOID VALVE (08) - HYDRAULICS
8
3
7
6
4
5
2
1
FIT
1:1
100%

Артикул

Название

Примечание

Количество

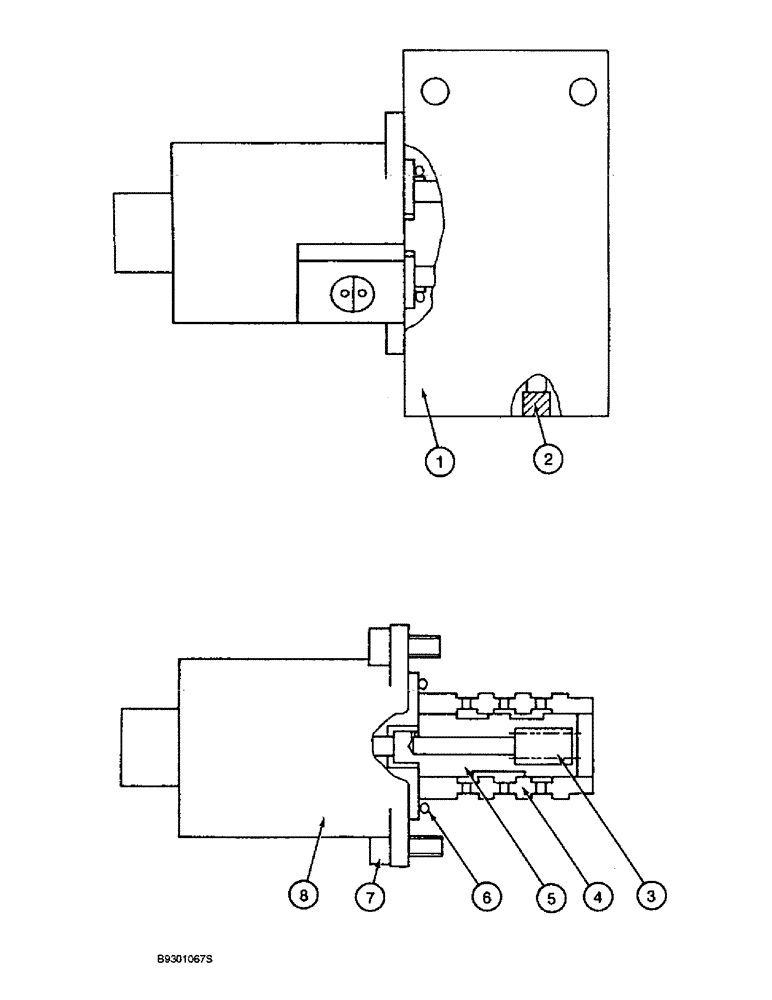
150501A1

VALVE

ASSEMBLY solenoid swing brake and two speed, Includes: Ref. 1-8

2шт.

1

NSS

NOT SOLD SEPARAT

BODY valve

1шт.

2

NSS

NOT SOLD SEPARAT

EXPANDER valve

1шт.

155761A1

SOLENOID

ASSEMBLY valve, Includes: Ref. 3-8

1шт.

3

156061A1

SPRING

compression

1шт.

4

156285A1

GUIDE

SLEEVE valve

1шт.

5

NSS

NOT SOLD SEPARAT

SPOOL solenoid valve

1шт.

6

154498A1

O-RING

, Serial Range: solenoid-body

1шт.

7

156174A1

BOLT

BOLT hex socket

2шт.

8

156718A1

SOLENOID

valve

1шт.

Выбрано товаров: 10