Запчасти Case 9010 (8-56) - 155776A1 SWING REDUCTION GEAR ASSEMBLY (08) - HYDRAULICS

Схема запчастей Case 9010 - (8-56) - 155776A1 SWING REDUCTION GEAR ASSEMBLY (08) - HYDRAULICS
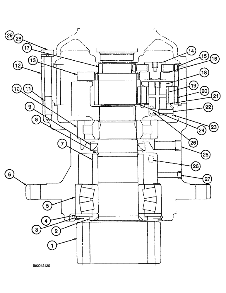
21
18
13
6
10
22
19
9
23
4
20
17
26
1
11
24
16
28
8
29
5
7
26
24
2
25
15
14
12
3
FIT
1:1
100%

Артикул

Название

Примечание

Количество

155776A1

MOTOR

GEAR ASSEMBLY reduction, Includes: Ref. 1-29

1шт.

1

NSS

NOT SOLD SEPARAT

SHAFT drive

1шт.

2

155599A1

COLLAR

SEAL lip, Serial Range: cover-collar

1шт.

3

155603A1

RING, SNAP

RING retaining

1шт.

4

155606A1

PLATE

shaft end

1шт.

5

156128A1

ROLLER BEARING,70 mm ID x 150 mm OD x 51 mm

roller

1шт.

6

NSS

NOT SOLD SEPARAT

HOUSING gear assembly

1шт.

7

155600A1

BUSHING

SPACER bearing

1шт.

8

155604A1

RING, SNAP

RING retaining

1шт.

9

153924A1

OIL SEAL

oil

1шт.

10

156129A1

BEARING, ROLLER, CYL,65mm ID x 140mm OD x 33mm W

roller inner

1шт.

11

155601A1

COLLAR

SLEEVE bolt

4шт.

12

155262A1

RING

GEAR ring

1шт.

155824A1

HOLDER

CARRIER ASSEMBLY planetary, Includes: Ref. 13-16

1шт.

13

NSS

NOT SOLD SEPARAT

CARRIER planetary

1шт.

14

NSS

NOT SOLD SEPARAT

PIN gear

3шт.

15

NSS

NOT SOLD SEPARAT

GEAR planetary carrier

3шт.

16

NSS

NOT SOLD SEPARAT

PLATE thrust

3шт.

17

155265A1

SUN GEAR

GEAR sun

1шт.

18

155357A1

SHAFT

planetary gear secondary

3шт.

19

155377A1

BUSHING

- Shaft

3шт.

20

155263A1

GEAR

planetary

3шт.

21

155376A1

PLATE, THRUST

PLATE thrust

3шт.

22

738-1825

LOCK PIN,M8 x 25, Slotted

3шт.

23

NSS

NOT SOLD SEPARAT

CARRIER planetary, secondary

1шт.

24

155264A1

PINION

GEAR sun

1шт.

25

151030A1

PLUG

port

1шт.

26

151026A1

PLUG

port

2шт.

27

151022A1

PLUG

hex socket, special

1шт.

28

156192A1

BOLT

BOLT hex, special

8шт.

29

892-10012

LOCK WASHER,M12

WASHER lock, 12 mm

8шт.

Выбрано товаров: 31