Запчасти Case 9010B (8-102) - PEDAL OPERATED REMOTE CONTROL VALVE (08) - HYDRAULICS

Схема запчастей Case 9010B - (8-102) - PEDAL OPERATED REMOTE CONTROL VALVE (08) - HYDRAULICS
3
17
8
4
16
6
13
15
22
11
10
1
19
9
18
7
20
21
2
12
5
14
1
1
23
FIT
1:1
100%

Артикул

Название

Примечание

Количество

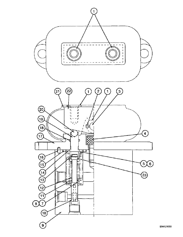
160713A1

CONTROL BLOCK

VALVE ASSEMBLY - remote control, Includes: Ref. 1 - 23

1шт.

1

156177A1

WASHER

- special

4шт.

2

155567A1

PIN

- special

2шт.

3

155566A1

COTTER PIN

PIN - pivot

1шт.

4

861-12020

HEX SOC SCREW,M12 x 20mm, Cl 12.9

BOLT - hex socket, 12 - 1.75 x 20 mm, class 12.9

1шт.

5

155571A1

SHIM

KIT - shim

1шт.

6

155570A1

SHIM

KIT - shim

1шт.

7

156178A1

WASHER

- spring seat

2шт.

8

155569A1

SHIM

KIT - shim, spring load

1шт.

161036A1

VALVE

HOUSING ASSEMBLY - valve, with spool, Includes: Ref. 9 and 10

1шт.

9

NSS

NOT SOLD SEPARAT

HOUSING - valve

1шт.

10

NSS

NOT SOLD SEPARAT

SPOOL - valve

2шт.

11

160946A1

SPRING

- outer, shuttle return

2шт.

12

160945A1

SPRING

- inner, shuttle return

2шт.

13

156179A1

FLANGE BOLT

BOLT - special, flanged

2шт.

14

160848A1

SLEEVE

- valve

2шт.

15

154502A1

O-RING

- special, Serial Range: cover-body

2шт.

16

160856A1

PIN, ROLL

PIN - roll

2шт.

17

156280A1

COVER

- valve

1шт.

18

154462A1

O-RING

-, Serial Range: shuttle-cover

2шт.

155754A1

VALVE

SHUTTLE ASSEMBLY - valve, Includes: Ref. 19 and 20

2шт.

19

NSS

NOT SOLD SEPARAT

SHUTTLE - valve

1шт.

20

NSS

NOT SOLD SEPARAT

BALL - steel

1шт.

21

155254A1

BELLOWS

COVER - dust

1шт.

22

155568A1

VALVE

PEDAL - valve

1шт.

23

160849A1

COLLAR

- bolt

2шт.

Выбрано товаров: 26