Запчасти Case 9010B (9-106) - H & H BUCKETS, DITCH (09) - CHASSIS

Схема запчастей Case 9010B - (9-106) - H & H BUCKETS, DITCH (09) - CHASSIS
7
2
1
12
9
10
6
11
5
4
3
13
8
FIT
1:1
100%

Артикул

Название

Примечание

Количество

REF

INSTRUCTION

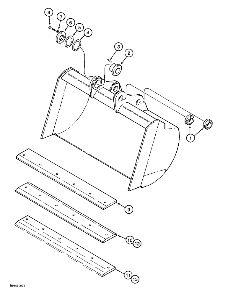
BUCKET ASSEMBLY - 1220 mm (48 inch), 0.72 cu. yd., Includes: Ref. 1 - 13

1шт.

Order bucket assembly from Machinery Price List.

1шт.

REF

INSTRUCTION

BUCKET ASSEMBLY - 1524 mm (60 inch), 0.90 cu. yd., Includes: Ref. 1 - 13

1шт.

Order bucket assembly from Machinery Price List.

1шт.

1

125658A1

LATCH

BUSHING - bucket, with locking collar

2шт.

2

125653A1

BUSHING

- bucket, adjustable

1шт.

3

125657A1

PIN

- dowel, special

2шт.

4

125654A1

SHIM

- plate mounting

1шт.

5

125655A1

SHIM

- plate mounting

1шт.

6

125656A1

RETAINER

PLATE - bushing

1шт.

7

80679

LOCK WASHER,1/20.507 CST ZND

WASHER, LOCK, 1/2"

3шт.

8

326-832

BOLT,Hex, 1/2" - 13 x 2", Gr 8

3шт.

9

125743A1

EDGE

- cutting, center, 1220 mm (48 inch) bucket

1шт.

9

125741A1

EDGE

- cutting, center, 1524 mm (60 inch) bucket

1шт.

10

113073A1

EDGE, CUTTING

EDGE - cutting, reversible, 1220 mm (48 inch) bucket, optional Bolt-on Ctr Cutting Edges w/Hardware

1шт.

11

113076A1

EDGE, CUTTING

EDGE - cutting, serrated, 1220 mm (48 inch) bucket, optional Bolt-on Ctr Cutting Edges w/Hardware

1шт.

12

113074A1

EDGE, CUTTING

EDGE - cutting, reversible, 1524 mm (60 inch) bucket, optional Bolt-on Ctr Cutting Edges w/Hardware

1шт.

13

113079A1

EDGE, CUTTING

EDGE - cutting, serrated, 1524 mm (60 inch) bucket, optional Bolt-on Ctr Cutting Edges w/Hardware

1шт.

Выбрано товаров: 18