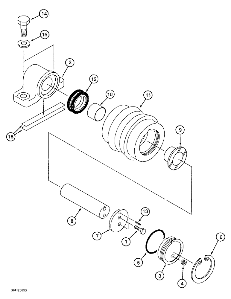
Запчасти Case 9010B (5-010) - TRACK CARRIER ROLLER (11) - TRACKS/STEERING

Схема запчастей Case 9010B - (5-010) - TRACK CARRIER ROLLER (11) - TRACKS/STEERING
3
6
9
15
2
14
13
4
5
16
10
8
11
7
1
12
FIT
1:1
100%

Артикул

Название

Примечание

Количество

161705A1

ROLLER ASSY.

ROLLER ASSEMBLY - track carrier, Includes: Ref. 1 - 13

2шт.

1

627-10016

BOLT,Hex, M10 x 1.5 x 16mm, Cl 10.9, Full Thd

- hex, full threads, 10 - 1.5 x 16 mm, class 10.9, Track

2шт.

2

161712A1

CASING, BEARING ROLL

BRACKET - carrier roller mounting

1шт.

3

161709A1

COVER

- end

1шт.

4

150821A1

PLUG

- port

1шт.

5

154667A1

O-RING

- end cover

1шт.

6

800-2185

SNAP RING,M85 x 3, Int

RING, SNAP, , End Cover M85 x 3, Int

1шт.

7

159685A1

PLATE, THRUST

RETAINER - roller shaft (thrust plate)

1шт.

8

160702A1

WHEEL SHAFT

SHAFT - carrier roller

1шт.

9

160698A1

RING

BUSHING - roller, cover end of shaft

1шт.

10

160699A1

RING

BUSHING - roller, bracket end of shaft

1шт.

11

161706A1

SHIFTER ROLLER

ROLLER - track carrier

1шт.

12

160671A1

SEAL

ASSEMBLY - face, carrier roller, includes two seals and two rings

1шт.

13

738-1312

LOCK PIN,M3 x 12, Slotted

PIN - roll, 3 x 12 mm

1шт.

14

627-16045

BOLT,Hex, M16 x 2 x 45mm, Cl 10.9, Full Thd

4шт.

15

150814A1

WASHER,17mm ID x 32mm OD x 4.5mm Thk

- flat, special, bracket mounting

4шт.

16

160672A1

SHIM

- special

2шт.

16

163144A1

SHIM

- special

2шт.

Выбрано товаров: 18