Запчасти Case 9010B (5-012) - TRACK ROLLERS (11) - TRACKS/STEERING

Схема запчастей Case 9010B - (5-012) - TRACK ROLLERS (11) - TRACKS/STEERING
5
4
6
3
10
1b
6
8
7
3
9
5
2
8
7
4
1a
FIT
1:1
100%

Артикул

Название

Примечание

Количество

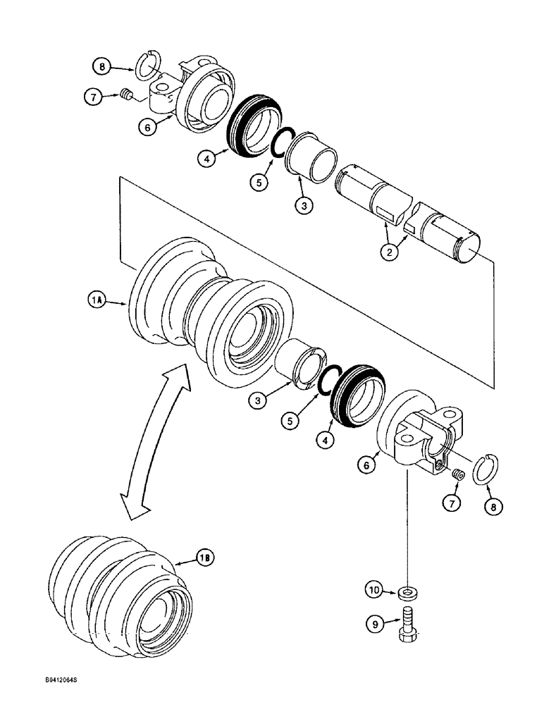
160764A1

TRACK ROLLER

ROLLER ASSEMBLY - track, with outer flanges, Includes: Ref. 1A - 8

8шт.

160765A1

ROLLER ASSY.

ROLLER ASSEMBLY - track, with inner flanges, Includes: Ref. 1A - 8

4шт.

1a

160692A1

ROLLER

HUB - track, with outer flanges

1шт.

1b

160693A1

SHIFTER ROLLER

HUB - track, with inner flanges

1шт.

2

160689A1

WHEEL SHAFT

SHAFT - roller

1шт.

3

160695A1

RING

BUSHING - roller

2шт.

4

152125A1

OIL SEAL

- face, track roller, includes two rings and two seals

2шт.

5

160668A1

O-RING,44.4mm ID x 3.1mm Width

- shaft

2шт.

6

160694A1

COLLAR

BRACKET - track roller mounting

2шт.

7

150821A1

PLUG

- port

2шт.

8

150597A1

COLLAR

CLIP - wire

2шт.

9

828-16065

BOLT,Hex, M16 x 2 x 65mm, Cl 10.9

48шт.

10

150814A1

WASHER,17mm ID x 32mm OD x 4.5mm Thk

- flat, special

48шт.

Выбрано товаров: 13