Запчасти Case 9010B (4-020) - BATTERY CABLES, BATTERIES AND MOUNTING (04) - ELECTRICAL SYSTEMS

Схема запчастей Case 9010B - (4-020) - BATTERY CABLES, BATTERIES AND MOUNTING (04) - ELECTRICAL SYSTEMS
12
1
8
3
11
10
1
4
13
5
6
7
2
14
9
2
6
3
FIT
1:1
100%

Артикул

Название

Примечание

Количество

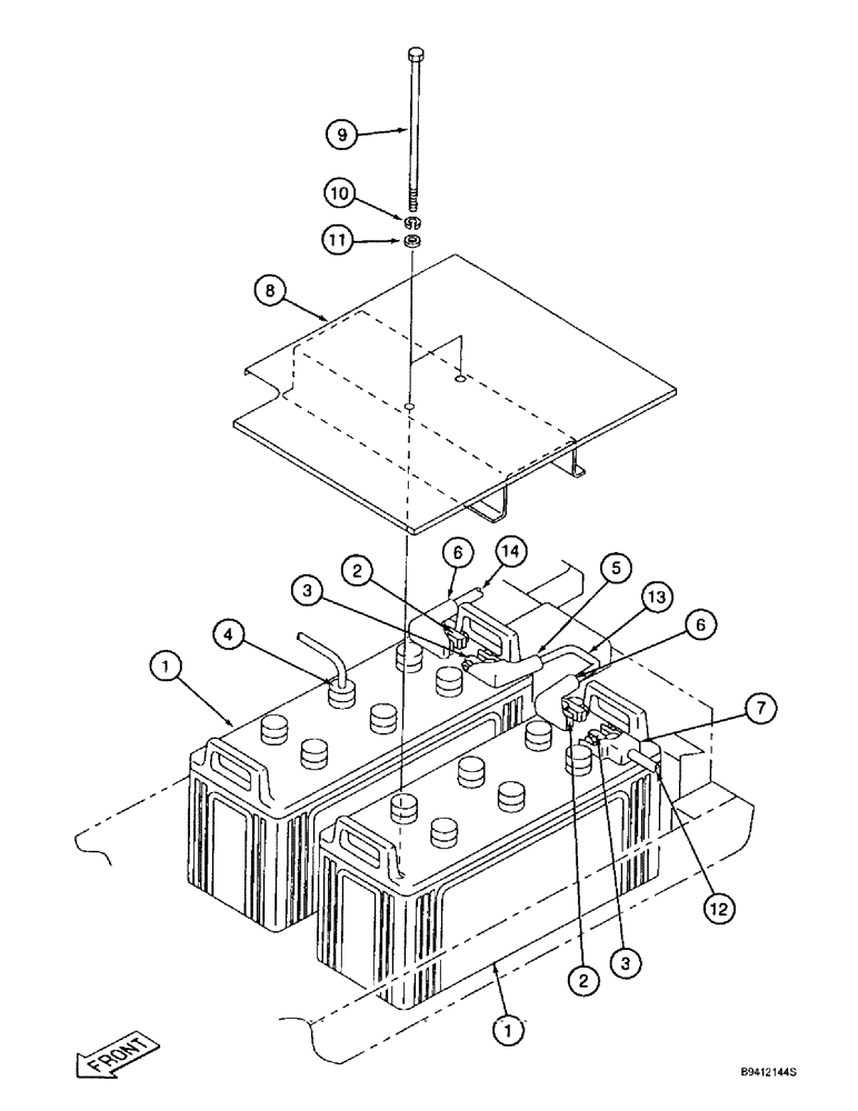
1

158877A1

BATTERY, DRY

BATTERY - 12 volt, wet charged, Includes: Ref. 2 - 4

2шт.

1

EN120W

DRY BATTERY

Ship Direct Option, US Only

1шт.

1

CCN120

BATTERY, DRY

Ship Direct Option, Canada Only

1шт.

2

158403A1

TERMINAL CONNECTOR

CLAMP - terminal

2шт.

3

150455A1

TERMINAL CONNECTOR

CLAMP - terminal

2шт.

4

150126A1

SENSOR

- low electrolyte

1шт.

5

150360A1

CAP

COVER - terminal

1шт.

6

150364A1

CAP

COVER - terminal

2шт.

7

150366A1

CAP

COVER - terminal

1шт.

8

152820A1

HOLDER

- battery

1шт.

9

152821A1

BOLT,Spcl, Hex, M10 x 270mm

BOLT - hex, special

2шт.

10

892-11010

LOCK WASHER,M10

2шт.

11

150409A1

WASHER

- flat, special, 10.5 x 21 x 3.2 mm

2шт.

12

161650A1

CABLE ASSY.

CABLE - 220 mm; electrical, battery ground; Terminal Clamps Sold Separately, See Ref 2, 3

1шт.

13

159914A1

CABLE ASSY.

CABLE - 220 mm; battery, special, battery to battery; Terminal Clamps Sold Separately, See Ref 2, 3

1шт.

14

161651A1

CABLE ASSY.

CABLE - 460 mm; battery, special, battery to relay; Terminal Clamps Sold Separately, See Ref 2, 3

1шт.

Выбрано товаров: 16