Запчасти Case 9010B (4-034) - COLD WEATHER STARTING SYSTEM (04) - ELECTRICAL SYSTEMS

Схема запчастей Case 9010B - (4-034) - COLD WEATHER STARTING SYSTEM (04) - ELECTRICAL SYSTEMS
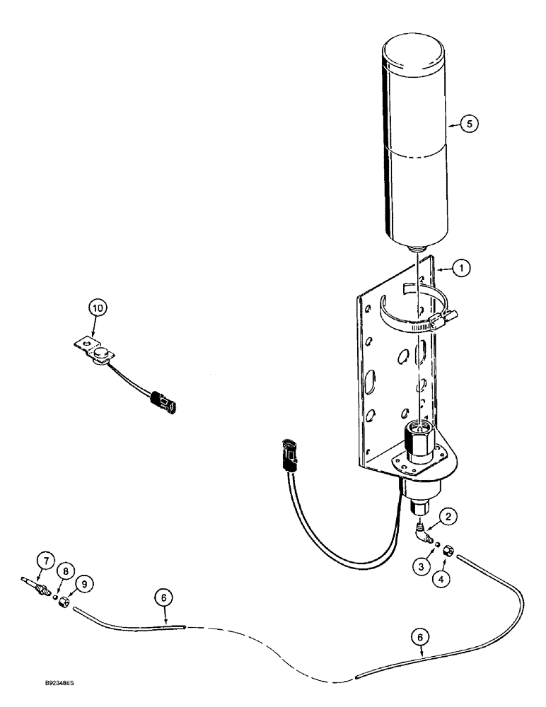
7
1
6
3
2
4
5
9
8
10
6
FIT
1:1
100%

Артикул

Название

Примечание

Количество

L126094

VALVE

ASSEMBLY - solenoid, attaches to engine harness, Includes: Ref. 1- 4

1шт.

1

NSS

NOT SOLD SEPARAT

VALVE - component parts not serviced separately

1шт.

222-615

ELBOW,90 Degree, 5/16"-24 x 1/8" NPT, Comp

1/8 tube OD, Incl. Ref 2 - 4 90º, 5/16"-24 x 1/8" NPT, Comp

1шт.

2

NSS

NOT SOLD SEPARAT

BODY - elbow

1шт.

3

222-650

SLEEVE,1/8" Tube, Comp

- tapered, 1/8 inch tube OD

1шт.

4

222-660

FLANGE NUT,5/16"-24, 45 Degree Fl, Comp

1/8" tube OD 5/16"-24, 45º Fl, Comp

1шт.

5

A171940

CYLINDER

- starting fluid

1шт.

6

116992A2

TUBE,0.125 mm OD

- nylon, 2693 mm (106 inch) long, cut from L60539X bulk tube, see below

1шт.

A172900

NOZZLE CAP

NOZZLE ASSEMBLY - atomizer, Includes: Ref. 7 - 9

1шт.

7

NSS

NOT SOLD SEPARAT

BODY - nozzle

1шт.

8

222-650

SLEEVE,1/8" Tube, Comp

- tapered, 1/8 inch tube OD

1шт.

9

222-660

FLANGE NUT,5/16"-24, 45 Degree Fl, Comp

1/8" tube OD 5/16"-24, 45º Fl, Comp

1шт.

10

L126191

THERMOSTATIC SWITCH

THERMOCOUPLE - circuit breaking, includes lead wires, attaches to engine harness, uses existing engine hardware

1шт.

L60539X

TUBE

- bulk, nylon, 3 (1/8) ID x 4267 mm (168 inch) long

1шт.

Выбрано товаров: 14