Запчасти Case 9010B (8-002) - HYDRAULIC RESERVOIR (08) - HYDRAULICS

Схема запчастей Case 9010B - (8-002) - HYDRAULIC RESERVOIR (08) - HYDRAULICS
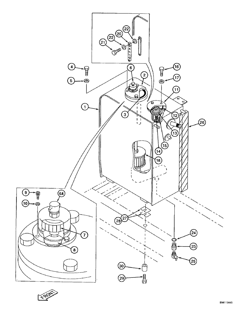
1
27
26
25
30
12
6
18
29
5
17
13
15
20
11
14
4
10
6a
24
22
2
22
23
16
21
3
7
9
8
28
FIT
1:1
100%

Артикул

Название

Примечание

Количество

1

163495A1

TANK, HYDRAULIC OIL

RESERVOIR - hydraulic oil, Serial Range: -DAC01#2001

1шт.

See Figure 1-002 for explanation of model variations.

1шт.

1

165912A1

TANK, HYDRAULIC OIL

RESERVOIR - hydraulic oil, was 165593A1, Start Serial: DAC01#2001

1шт.

See Figure 1-002 for explanation of model variations.

1шт.

2

161162A1

COVER

- air breather

1шт.

3

154829A1

O-RING

- breather

1шт.

5

150409A1

WASHER

- flat, special, 10.5 x 21 x 3.2 mm

4шт.

6

161066A1

BREATHER ASSY.

BREATHER ASSEMBLY - hydraulic reservoir, Includes: Ref. 6A - 8

1шт.

6a

163559A1

CAP

- nut

1шт.

7

159702A1

HYDRAULIC OIL FILTER

ELEMENT - breather

1шт.

8

159703A1

GASKET

- flat, breather

1шт.

9

862-6016

HEX SOC SCREW,M6 x 16mm, Cl 12.9

BOLT - hex socket, 6 - 1.0 x 16 mm, class 12.9

4шт.

10

892-11006

LOCK WASHER,M6

WASHER, LOCK, M6

4шт.

11

161154A1

COVER

- filter

1шт.

12

154776A1

O-RING

- hydraulic reservoir cover

1шт.

13

161155A1

SPRING

- compression

1шт.

14

153191A1

VALVE

- relief

1шт.

15

153190A1

HYDRAULIC OIL FILTER

ELEMENT - filter, return

1шт.

16

627-10025

BOLT,Hex, M10 x 1.5 x 25mm, Cl 10.9, Full Thd

- hex, full threads, 10 - 1.5 x 25 mm, class 10.9

4шт.

17

150409A1

WASHER

- flat, special, 10.5 x 21 x 3.2 mm

4шт.

18

161065A1

HYDRAULIC OIL FILTER

STRAINER - hydraulic oil

1шт.

The O-ring that goes in the side of this strainer is 238-5337.

1шт.

163560A1

SIGHTGLASS

GAUGE ASSEMBLY - sight, replaces 159491A1 gauge assembly, Includes: Ref. 20 - 22

1шт.

20

NSS

NOT SOLD SEPARAT

BODY - gauge

1шт.

21

159492A1

BOLT

BOLT - special

2шт.

22

159493A1

SEALING WASHER

SEAL - washer

4шт.

23

159279A1

SOCKET

REDUCER - drain valve, Includes: Ref. 24

1шт.

24

154503A1

O-RING

- reservoir drain valve

1шт.

25

150962A1

COCK, DRAIN

VALVE - drain

1шт.

26

161183A1

SEAL

SEAL - cushion

1шт.

27

150166A1

SHIM

- 0.8 mm (1/32 inch) thick, between fuel tank and frame

4шт.

28

150479A1

SHIM

- 2.0 mm (5/64 inch) thick, between fuel tank and frame

4шт.

29

828-16065

BOLT,Hex, M16 x 2 x 65mm, Cl 10.9

4шт.

30

153357A1

SPACER

- bolt

4шт.

4

627-10030

BOLT,Hex, M10 x 1.5 x 30mm, Cl 10.9, Full Thd

4шт.

Выбрано товаров: 35