Запчасти Case 9020 (4-12) - INSTRUMENT CLUSTER AND MOUNTING (04) - ELECTRICAL SYSTEMS

Схема запчастей Case 9020 - (4-12) - INSTRUMENT CLUSTER AND MOUNTING (04) - ELECTRICAL SYSTEMS
12
13
7
1
10
5
4
2
11
6
8
9
3
FIT
1:1
100%

Артикул

Название

Примечание

Количество

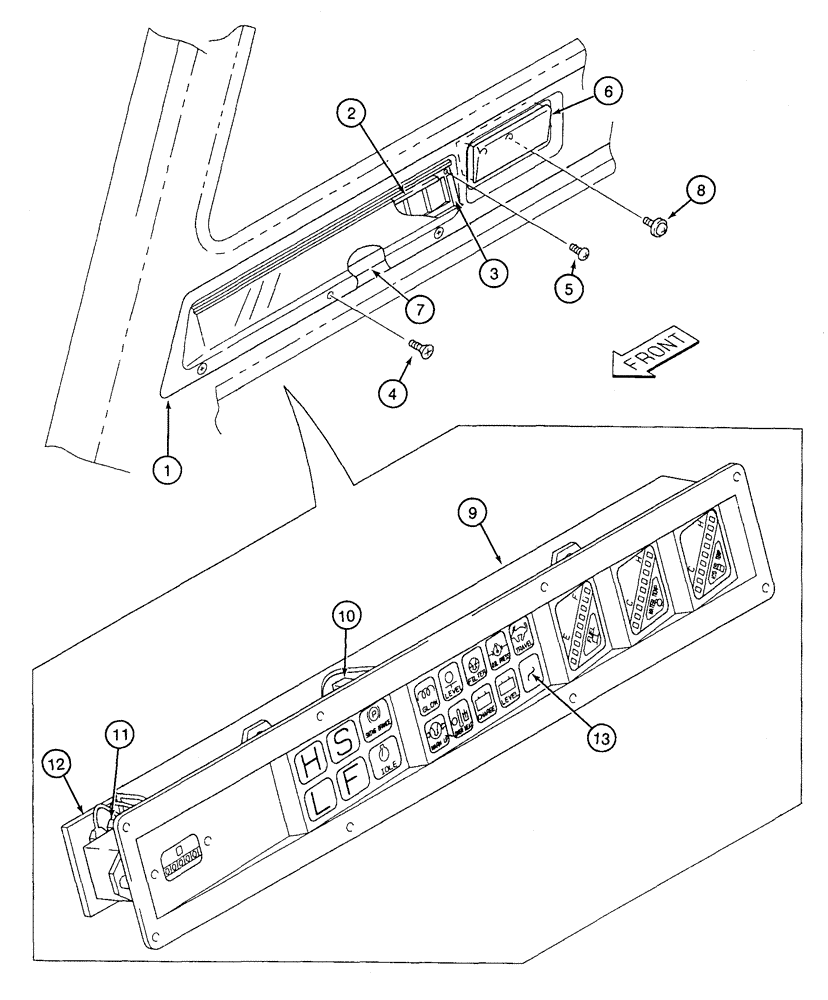
1

156638A1

PANEL ASSY.

COVER instrument panel dust, replaces 152486A1

1шт.

152386A1

SEAL

KIT cover, Includes: Ref. 2 and 3

1шт.

2

152499A1

SEAL

horizontal

2шт.

3

152502A1

SEAL

cushion vertical

2шт.

4

150818A1

SCREW,Spcl, Oval Hd Csk, M4 x 12mm

special, cover mounting

4шт.

5

150875A1

SCREW,Phil Truss Hd, M4 x 12mm

special, cluster mounting

8шт.

6

151946A1

ASH TRAY

cab

1шт.

7

151549A1

PLASTIC-RUBBER TUBE

SLEEVE corrugated, 3-1/8 inch (80 mm) long

1шт.

8

151688A1

SCREW,Phil Pan Hd, M5 x 12mm, W/ Wshr

pan head, ashtray mounting

2шт.

152464A1

CONTROL

CLUSTER ASSEMBLY instrument, Includes: Ref. 9 - 13

1шт.

9

151714A1

BOARD, PRINTED CIRCU

IT CLUSTER instrument

1шт.

10

150755A1

LAMP

instrument cluster

18шт.

11

152805A1

HOURMETER

electric

1шт.

12

150764A1

PLATE

backing, instrument cluster

1шт.

13

153084A1

CAP

COVER gauge hole

1шт.

Выбрано товаров: 15