Запчасти Case 9020 (4-28) - COLD WEATHER STARTING SYSTEM (04) - ELECTRICAL SYSTEMS

Схема запчастей Case 9020 - (4-28) - COLD WEATHER STARTING SYSTEM (04) - ELECTRICAL SYSTEMS
10
7
6
8
4
6
9
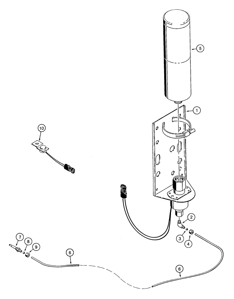
1
2
3
5
FIT
1:1
100%

Артикул

Название

Примечание

Количество

1

L126094

VALVE

ASSEMBLY solenoid, Includes: Ref. 2 - 4

1шт.

2

222-615

ELBOW,90 Degree, 5/16"-24 x 1/8" NPT, Comp

1/8 tube OD

1шт.

3

222-650

SLEEVE,1/8" Tube, Comp

Tapered

1шт.

4

222-660

FLANGE NUT,5/16"-24, 45 Degree Fl, Comp

hex, 1/8" tube OD

1шт.

5

A171940

CYLINDER

starting fluid

1шт.

6

116992A2

TUBE,0.125 mm OD

nylon, 106 inch (2693 mm) long, cut from L60539X bulk tube, see below, replaces shorter tube 116992A1

1шт.

7

A172900

NOZZLE CAP

ASSEMBLY atomizer, Includes: Ref. 8 and 9

1шт.

8

222-650

SLEEVE,1/8" Tube, Comp

Tapered

1шт.

9

222-660

FLANGE NUT,5/16"-24, 45 Degree Fl, Comp

hex, 1/8" tube OD

1шт.

10

L126191

THERMOSTATIC SWITCH

circuit breaking, includes lead wires attaches to engine harness, uses existing engine hardware

1шт.

L60539X

TUBE

bulk, nylon, 1/8 (3) ID x 168 inch (4267 mm) long

1шт.

Выбрано товаров: 11