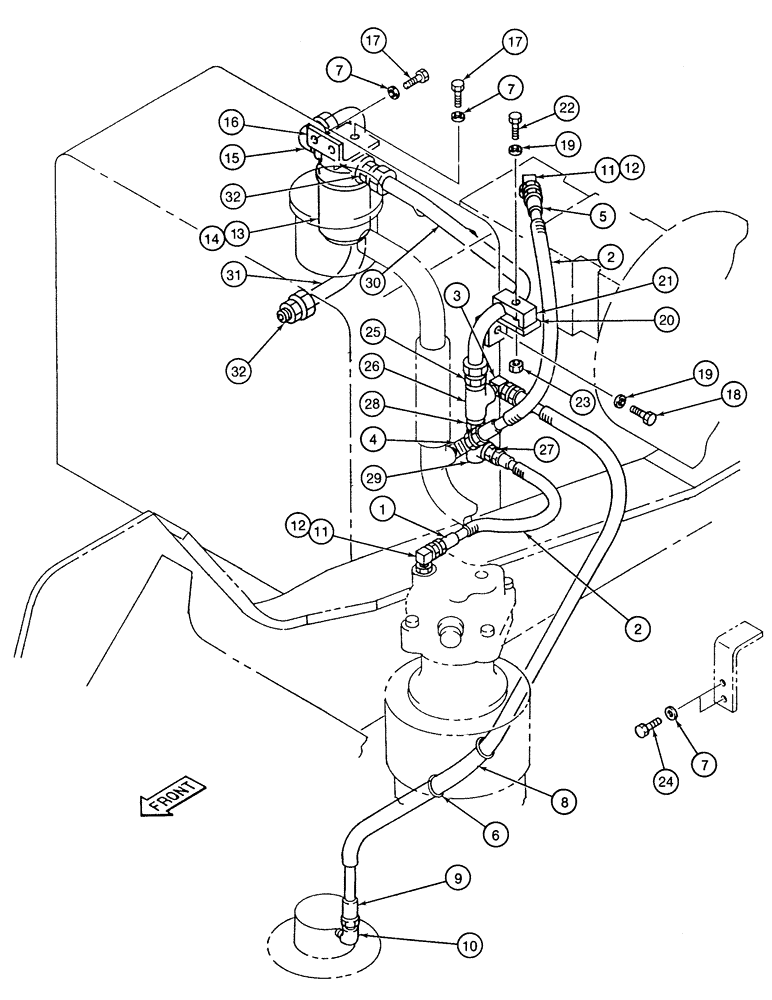
Запчасти Case 9020 (8-010) - SWIVEL, PUMP, AND SWING MOTOR DRAIN LINES (08) - HYDRAULICS

Схема запчастей Case 9020 - (8-010) - SWIVEL, PUMP, AND SWING MOTOR DRAIN LINES (08) - HYDRAULICS
32
13
7
22
29
30
1
12
19
11
27
15
2
31
6
4
23
3
9
20
11
32
12
26
17
7
24
18
7
8
14
19
17
16
10
21
2
28
25
5
FIT
1:1
100%

Артикул

Название

Примечание

Количество

1

153346A1

HOSE ASSY.

39-3/8 inch (1000 mm) long, swing motor drain line, (swing motor port "Dr" to tees at return filter inlet tube)

1шт.

2

150488A1

PLASTIC-RUBBER TUBE

SLEEVE corrugated, 23-5/8 inch (600 mm) long

2шт.

3

150915A1

ADAPTER

ELBOW 90 degree

1шт.

4

150602A1

ADAPTER

ELBOW 90 degree

1шт.

5

152738A1

HYDRAULIC HOSE,12.70 mm ID x 810.00 mm

Pump drain line, (Pump port "Dr" to oil cooler return line)

1шт.

6

150496A1

MOUNTING CLIP

TRAP tie, 250 mm long

3шт.

7

150732A1

WASHER

special, 10 mm8

4шт.

8

150441A1

PLASTIC-RUBBER TUBE

SLEEVE corrugated, 51-3/16 inch (1300 mm) long

1шт.

9

153345A1

HOSE ASSY.

63 inch (1600 mm) long, swivel drain line, (swivel port "F" to tee at return filter inlet tube

1шт.

10

153588A1

ELBOW

90 degree

1шт.

11

150919A1

ELBOW,90 Degree, 1/2" O-Ring x 1/2"

90 degree, Includes: Ref. 12

2шт.

12

154487A1

O-RING

elbow

1шт.

13

150792A1

FILTER ASSY

hydraulic oil return, Includes: Ref. 14

1шт.

14

150794A1

HYDRAULIC OIL FILTER

(not shown)

1шт.

15

151742A1

ELBOW

90 degree

1шт.

16

153456A1

BRACKET

mounting filter

1шт.

17

626-10020

BOLT,Hex, M10 x 1.5 x 20mm, Cl 10.9, Full Thd

hex, full threads, 10 - 1.5 x 20 mm, class 10.9

4шт.

18

626-12025

BOLT,Hex, M12 x 1.75 x 25mm, Cl 10.9, Full Thd

hex, full threads, 12 - 1.75 x 25 mm, class 10.9

1шт.

19

150988A1

WASHER

flat, special, 12 mm

2шт.

20

152607A1

BRACKET

mounting

1шт.

21

152674A1

SPECIAL CLAMP

tube

1шт.

22

828-12060

BOLT,Hex, M12 x 1.75 x 60mm, Cl 10.9

1шт.

23

829-1312

NUT,M12 x 1.75, Cl 10

1шт.

25

152606A1

CONNECTOR, ELEC

CONNECTOR straight

1шт.

26

153243A1

TEE

swivel drain line

1шт.

27

152178A1

BUSHING

reducer

1шт.

28

152261A1

NIPPLE, LUBE

NIPPLE CONNECTOR straight

1шт.

29

153589A1

TEE

swing motor drain line

1шт.

30

152929A1

TUBE,25 mm OD, 407.6, 175 mm Length

return filter inlet, (from drain lines to return filter inlet port)

1шт.

31

152605A1

TUBE

return filter outlet, (return filter outlet, Serial Range: port-reservoir)

1шт.

32

151680A1

CONNECTOR, ELEC

CONNECTOR ADAPTER straight

2шт.

Выбрано товаров: 31