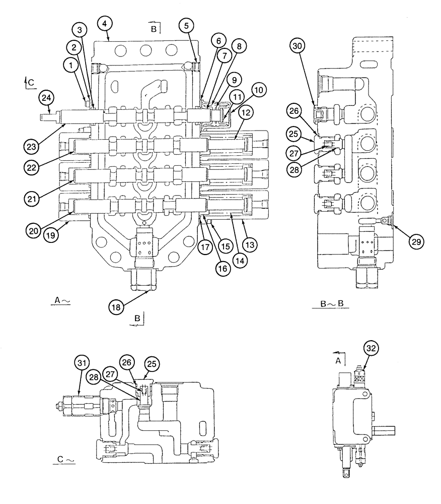
Запчасти Case 9020 (8-078) - MAIN CONTROL VALVE, SPOOLS AND RELATED PARTS, RIGHT-HAND VALVE BANK (08) - HYDRAULICS

Схема запчастей Case 9020 - (8-078) - MAIN CONTROL VALVE, SPOOLS AND RELATED PARTS, RIGHT-HAND VALVE BANK (08) - HYDRAULICS
1
29
15
7
18
32
14
23
8
25
4
16
12
10
25
27
26
27
3
2
11
19
26
5
6
17
28
21
20
9
13
24
30
31
28
22
FIT
1:1
100%

Артикул

Название

Примечание

Количество

155764A1

CONTROL

VALVE SUBASSEMBLY right-hand, valve bank, Includes: Ref. 1 - 32

1шт.

1

156168A1

BOLT (MACHINE),Hex Skt

hex socket

4шт.

2

153915A1

WIPER

spool

2шт.

3

155294A1

SEAL

valve

2шт.

4

NSS

NOT SOLD SEPARAT

HOUSING spool

1шт.

5

151030A1

PLUG

port

2шт.

6

155557A1

PLATE

seal

2шт.

7

156022A1

SPRING SEAT

2шт.

8

156024A1

SPRING

compression

1шт.

9

155558A1

SPACER

spring seat

1шт.

10

156253A1

CAP

end

1шт.

11

156166A1

SCREW

special

1шт.

12

156167A1

SCREW

hex socket, special

3шт.

13

156254A1

CAP

end

3шт.

14

156025A1

SPRING

compression

3шт.

15

156180A1

BOLT (MACHINE)

hex socket

12шт.

16

156023A1

SPRING SEAT

6шт.

17

155168A1

O-RING

cap

6шт.

18

155765A1

VALVE, PRESSURE RELI

EF relief

1шт.

19

156255A1

CAP

end

3шт.

20

NSS

NOT SOLD SEPARAT

SPOOL arm control

1шт.

21

NSS

NOT SOLD SEPARAT

SPOOL bucket control

1шт.

22

NSS

NOT SOLD SEPARAT

SPOOL boom control

1шт.

23

NSS

NOT SOLD SEPARAT

SPOOL travel control

1шт.

24

156256A1

HEAD

EYE linkage attachment, travel spool

1шт.

25

155464A1

PLUG

port

6шт.

26

153882A1

O-RING

plug

6шт.

27

156026A1

SPRING

compression

6шт.

28

155931A1

VALVE POPPET

6шт.

29

151026A1

PLUG

port

1шт.

30

155452A1

PLUG

port

1шт.

31

155743A1

VALVE, PRESSURE RELI

EF relief

1шт.

32

155745A1

VALVE PRESSURE RELIE

relief, parts list Figure 8-80

4шт.

Выбрано товаров: 33