Запчасти Case 9020B (8-052) - FREE SWING CIRCUIT, PRIOR TO P.I.N. DAC0201004 (08) - HYDRAULICS

Схема запчастей Case 9020B - (8-052) - FREE SWING CIRCUIT, PRIOR TO P.I.N. DAC0201004 (08) - HYDRAULICS
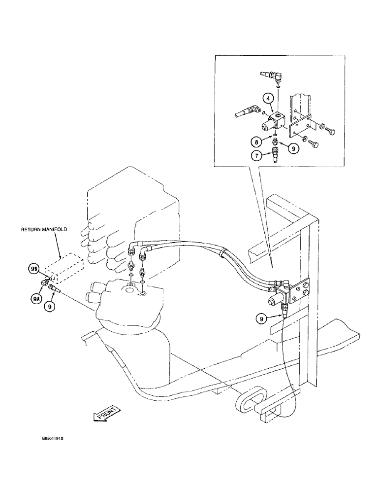
9
4
8
9a
9
9b
7
9
FIT
1:1
100%

Артикул

Название

Примечание

Количество

4

159205A1

VALVE

ASSEMBLY - solenoid, free swing, parts list on Figure 8-126

1шт.

7

152127A1

HYD CONNECTOR,1/4" NPT O-Ring x 1/4" NPT

ADAPTER - straight (common)

1шт.

8

154467A1

O-RING,10.8mm ID x 2.4mm Width

- adapter (common)

1шт.

9

151892A1

HOSE,6.3mm ID x 1950mm L

(From solenoid valve port "T" to tee in main control valve port "dr1") 1950.00 mm

1шт.

This part is keyed to Figure 8-050 for comparison purposes. These excavators can be updated by removing parts Ref. 9, 9A and 9B and rerouting hose, Ref. 9, as shown on Figure 8-050. Other parts required for this modification are identified on Figures 8-002, 8-010, 8-018, and 8-042.

1шт.

9a

150913A1

ELBOW,90 Degree, 1/4" O-Ring x 1/4"

- 90 degree, Includes: Ref. 9B

1шт.

This part is keyed to Figure 8-050 for comparison purposes. These excavators can be updated by removing parts Ref. 9, 9A and 9B and rerouting hose, Ref. 9, as shown on Figure 8-050. Other parts required for this modification are identified on Figures 8-002, 8-010, 8-018, and 8-042.

1шт.

9b

154467A1

O-RING,10.8mm ID x 2.4mm Width

- elbow

1шт.

This part is keyed to Figure 8-050 for comparison purposes. These excavators can be updated by removing parts Ref. 9, 9A and 9B and rerouting hose, Ref. 9, as shown on Figure 8-050. Other parts required for this modification are identified on Figures 8-002, 8-010, 8-018, and 8-042.

1шт.

Выбрано товаров: 9