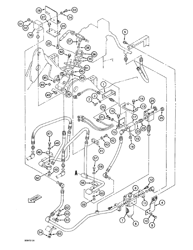
Запчасти Case 9020B (8-072) - SINGLE ACTION AUXILIARY EQUIPMENT OPTION, COMPONENT MOUNTING AND HOSE SUPPORTS (08) - HYDRAULICS

Схема запчастей Case 9020B - (8-072) - SINGLE ACTION AUXILIARY EQUIPMENT OPTION, COMPONENT MOUNTING AND HOSE SUPPORTS (08) - HYDRAULICS
13
59
5
17
23
35
18
21
43
16
60
1
51
47
2
26
41
34
55
38
40
31
27
62
46
8
8
42
7
3
11
45
24
30
36
58
14
49
57
37
44
54
32
4
15
25
56
44
53
28
29
19
22
10
45
20
39
48
33
12
61
50
9
52
FIT
1:1
100%

Артикул

Название

Примечание

Количество

1

159708A1

BRACKET

- 90 degree angle

1шт.

2

627-10025

BOLT,Hex, M10 x 1.5 x 25mm, Cl 10.9, Full Thd

- hex, full threads, 10 - 1.5 x 25 mm, class 10.9

2шт.

3

150409A1

WASHER

- flat, special, 10.5 x 21 x 3.2 mm

2шт.

4

163534A1

BRACKET

- mounting, filter

1шт.

5

152718A1

BOLT,Spcl, Hex Wshr, M12 x 25mm, Cl 10.9

- special

2шт.

6

163278A1

FILTER

ASSEMBLY - hydraulic oil, Includes: Ref. 7 and 8

1шт.

7

163279A1

HYDRAULIC OIL FILTER

ELEMENT - oil filter

1шт.

8

159706A1

INDICATOR

GAUGE - special indicator

1шт.

9

627-10020

BOLT,Hex, M10 x 1.5 x 20mm, Cl 10.9, Full Thd

- hex, full threads, 10 - 1.5 x 20 mm, class 10.9

2шт.

10

150409A1

WASHER

- flat, special, 10.5 x 21 x 3.2 mm

2шт.

11

163275A1

FLANGE

- tube mounting

1шт.

12

862-8035

HEX SOC SCREW,M8 x 35mm, Cl 12.9

SCREW - hex socket, 8 - 1.25 x 35 mm, class 12.9

4шт.

13

163531A1

BRACKET

- mounting

1шт.

14

152718A1

BOLT,Spcl, Hex Wshr, M12 x 25mm, Cl 10.9

- special

2шт.

15

163529A1

BRACKET

- 90 degree angle, manifold

1шт.

16

152718A1

BOLT,Spcl, Hex Wshr, M12 x 25mm, Cl 10.9

- special

2шт.

17

159726A1

MANIFOLD

- hydraulic

1шт.

18

152924A1

PLUG

- manifold, Includes: Ref. 19

1шт.

19

154503A1

O-RING

- plug

1шт.

20

862-10020

HEX SOC SCREW,M10 x 20mm, Cl 12.9

BOLT - hex socket, 10 - 1.5 x 20 mm, class 12.9

2шт.

21

150409A1

WASHER

- flat, special, 10.5 x 21 x 3.2 mm

2шт.

22

157685A1

HYD CONNECTOR

ADAPTER - straight, special, Includes: Ref. 23

1шт.

23

154503A1

O-RING

- adapter

1шт.

24

159490A1

VALVE

- relief

1шт.

25

151002A1

PLUG

- pipe

1шт.

26

163532A1

BRACKET

- mounting

1шт.

27

152718A1

BOLT,Spcl, Hex Wshr, M12 x 25mm, Cl 10.9

- special

2шт.

28

163530A1

BRACKET

- mounting, manifold

1шт.

29

158919A1

CAPTIVE WASHER SCREW,Hex Wshr Hd, M12 x 1.75 x 35mm, Cl 10.9, Spcl

BOLT - special

2шт.

30

159726A1

MANIFOLD

- hydraulic

1шт.

31

152924A1

PLUG

- manifold, Includes: Ref. 32

1шт.

32

154503A1

O-RING

- plug

1шт.

33

627-10020

BOLT,Hex, M10 x 1.5 x 20mm, Cl 10.9, Full Thd

- hex, full threads, 10 - 1.5 x 20 mm, class 10.9

2шт.

34

150409A1

WASHER

- flat, special, 10.5 x 21 x 3.2 mm

2шт.

35

162248A1

COLLAR

CLAMP - hose

2шт.

36

162249A1

LARGE PLATE

PLATE - flat, hoseclamp

1шт.

37

827-12080

BOLT,Hex, M12 x 1.75 x 80mm, Cl 10.9

- hex, 12 - 1.75 x 80 mm, class 10.9

2шт.

38

150811A1

WASHER

- flat, special, 12 mm

2шт.

39

163536A1

BRACKET

- mounting, manifold

1шт.

40

152718A1

BOLT,Spcl, Hex Wshr, M12 x 25mm, Cl 10.9

- special

2шт.

41

152085A1

COLLAR

CLAMP - tube

1шт.

42

827-12070

BOLT,Hex, M12 x 1.75 x 70mm, Cl 10.9

- hex, 12 - 1.75 x 70 mm, class 10.9

1шт.

43

150811A1

WASHER

- flat, special, 12 mm

1шт.

44

829-1412

NUT,M12, Cl 10.9

- hex, 12 mm - 1.75, class 10

3шт.

45

150811A1

WASHER

- flat, special, 12 mm

3шт.

46

151486A1

CLAMP BRACKET

CLAMP - tube, used, Serial Range: -DAC0201004

1шт.

47

827-12070

BOLT,Hex, M12 x 1.75 x 70mm, Cl 10.9

- hex, 12 - 1.75 x 70 mm, class 10.9

1шт.

48

150811A1

WASHER

- flat, special, 12 mm

1шт.

49

829-1412

NUT,M12, Cl 10.9

- hex, 12 mm - 1.75, class 10

1шт.

50

150811A1

WASHER

- flat, special, 12 mm

1шт.

51

151486A1

CLAMP BRACKET

CLAMP -

1шт.

52

827-12070

BOLT,Hex, M12 x 1.75 x 70mm, Cl 10.9

- hex, 12 - 1.75 x 70 mm, class 10.9

1шт.

53

150811A1

WASHER

- flat, special, 12 mm

1шт.

54

829-1412

NUT,M12, Cl 10.9

- hex, 12 mm - 1.75, class 10

1шт.

55

150811A1

WASHER

- flat, special, 12 mm

1шт.

56

151486A1

CLAMP BRACKET

CLAMP - tube, used, Serial Range: -DAC0201004

1шт.

57

827-12070

BOLT,Hex, M12 x 1.75 x 70mm, Cl 10.9

- hex, 12 - 1.75 x 70 mm, class 10.9

1шт.

58

150811A1

WASHER

- flat, special, 12 mm

1шт.

59

829-1412

NUT,M12, Cl 10.9

- hex, 12 mm - 1.75, class 10

1шт.

60

150811A1

WASHER

- flat, special, 12 mm

1шт.

61

163504A1

BRACKET

- flat plate, angled, if used

1шт.

62

152718A1

BOLT,Spcl, Hex Wshr, M12 x 25mm, Cl 10.9

- special, used with 163504A1 bracket, if used

2шт.

Выбрано товаров: 62