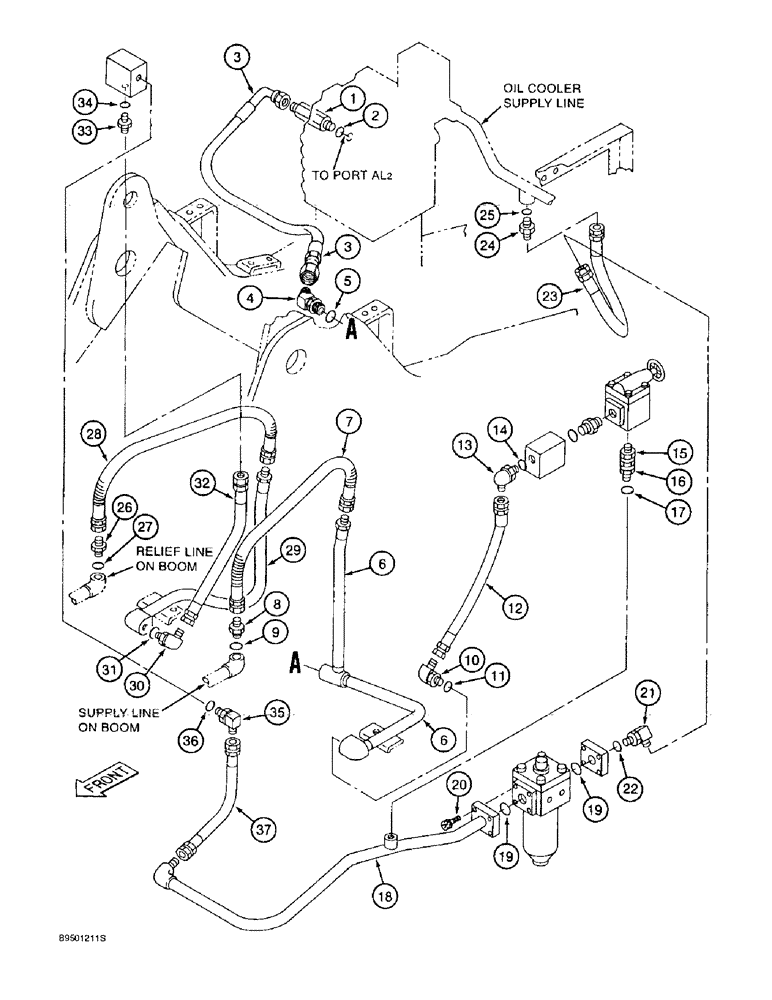
Запчасти Case 9020B (8-078) - SINGLE ACTION AUXILIARY EQUIPMENT OPTION, SUPPLY AND RELIEF LINES, PRIOR TO P.I.N. DAC0201004 (08) - HYDRAULICS

Схема запчастей Case 9020B - (8-078) - SINGLE ACTION AUXILIARY EQUIPMENT OPTION, SUPPLY AND RELIEF LINES, PRIOR TO P.I.N. DAC0201004 (08) - HYDRAULICS
17
3
4
26
15
33
21
27
5
10
7
14
25
2
9
1
35
6
19
3
6
16
11
34
24
8
28
36
31
29
13
12
23
30
19
18
37
32
20
22
FIT
1:1
100%

Артикул

Название

Примечание

Количество

1

152019A1

ELEC CONNECTOR

ADAPTER - straight, Includes: Ref. 2

1шт.

2

154503A1

O-RING

- adapter

1шт.

3

162138A1

HYDRAULIC HOSE,1150.00 mm

- Auxiliary equipment supply line (Control valve port "AL2" to supply and relief tube) 1150.00 mm

1шт.

4

159372A1

ELBOW

- 90 degree, special, Includes: Ref. 5

1шт.

5

154503A1

O-RING

- elbow

1шт.

6

163527A1

TUBE

- auxiliary equipment supply line

1шт.

7

163498A1

HYDRAULIC HOSE,19.00 mm ID x 1440.00 mm

- Auxiliary equipment supply line (Supply and relief tube to supply line on boom) 19.00 mm ID x 1440.00 mm

1шт.

8

151654A1

HYD CONNECTOR,3/4" NPT O-Ring x 3/4" NPT

ADAPTER - straight, Includes: Ref. 9

1шт.

9

154503A1

O-RING

- adapter

1шт.

10

159372A1

ELBOW

- 90 degree, special, Includes: Ref. 10

1шт.

11

154503A1

O-RING

- elbow

1шт.

12

163499A1

HYDRAULIC HOSE,19.00 mm ID x 490.00 mm

- Relief line (Supply and relief tube to manifold) 19.00 mm ID x 490.00 mm

1шт.

13

159372A1

ELBOW

- 90 degree, special, Includes: Ref. 14

1шт.

14

154503A1

O-RING

- elbow

1шт.

15

153638A1

ADAPTER

- straight, special, Includes: Ref. 17

1шт.

16

151654A1

HYD CONNECTOR,3/4" NPT O-Ring x 3/4" NPT

ADAPTER - straight, Includes: Ref. 17

1шт.

17

154503A1

O-RING

- adapter

1шт.

18

163533A1

TUBE

- auxiliary equipment relief

1шт.

19

154569A1

O-RING

- filter

2шт.

20

862-8035

HEX SOC SCREW,M8 x 35mm, Cl 12.9

SCREW - hex socket, 8 - 1.25 x 35 mm, class 12.9

4шт.

21

157580A1

ELBOW,90 Degree, 3/4" O-Ring x 3/4"

- special, 90 degree (see also Refs. 11 and 12, Figure 8-72), Includes: Ref. 22

1шт.

22

154503A1

O-RING

- elbow

1шт.

23

163535A1

HYDRAULIC HOSE,19.00 mm ID x 800.00 mm

- Auxiliary equipment relief line (Filter to oil cooler supply line) 19.00 mm ID x 800.00 mm

1шт.

24

151654A1

HYD CONNECTOR,3/4" NPT O-Ring x 3/4" NPT

ADAPTER - straight, Includes: Ref. 25

1шт.

25

154503A1

O-RING

- adapter

1шт.

26

151654A1

HYD CONNECTOR,3/4" NPT O-Ring x 3/4" NPT

ADAPTER - straight, Includes: Ref. 27

1шт.

27

154503A1

O-RING

- adapter

1шт.

28

163498A1

HYDRAULIC HOSE,19.00 mm ID x 1440.00 mm

- Auxiliary equipment relief line (Relief line on boom to relief tube) 19.00 mm ID x 1440.00 mm

1шт.

29

163537A1

TUBE

- relief, auxiliary equipment relief line

1шт.

30

159372A1

ELBOW

- 90 degree, special, Includes: Ref. 31

1шт.

31

154503A1

O-RING

- elbow

1шт.

32

163499A1

HYDRAULIC HOSE,19.00 mm ID x 490.00 mm

- Auxiliary equipment relief line (Relief tube to manifold) 19.00 mm ID x 490.00 mm

1шт.

33

151654A1

HYD CONNECTOR,3/4" NPT O-Ring x 3/4" NPT

ADAPTER - straight, Includes: Ref. 34

1шт.

34

154503A1

O-RING

- adapter

1шт.

35

157580A1

ELBOW,90 Degree, 3/4" O-Ring x 3/4"

- special, 90 degree, Includes: Ref. 36

1шт.

36

154503A1

O-RING

- elbow

1шт.

37

159747A1

HYDRAULIC HOSE,19.00 mm ID x 400.00 mm

- Auxiliary equipment relief line (Manifold to auxiliary equipment relief tube) 19.00 mm ID x 400.00 mm

1шт.

Выбрано товаров: 37