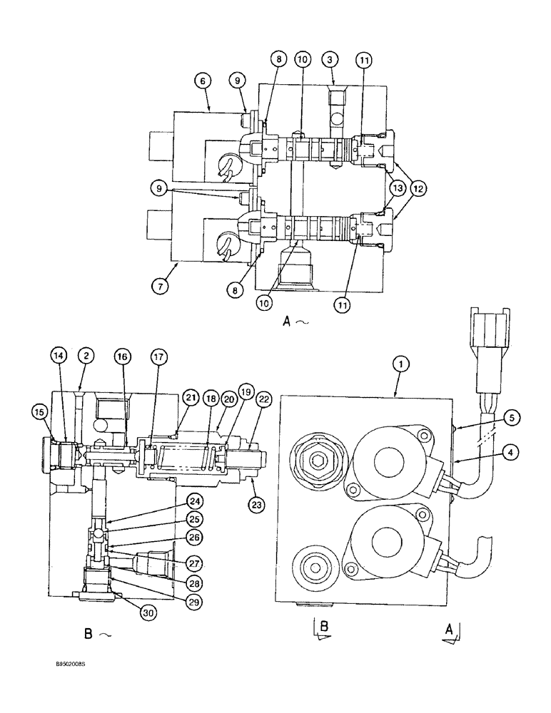
Запчасти Case 9020B (8-130) - SWING BRAKE RELEASE VALVE (08) - HYDRAULICS

Схема запчастей Case 9020B - (8-130) - SWING BRAKE RELEASE VALVE (08) - HYDRAULICS
25
7
22
3
9
27
10
11
2
19
1
16
23
6
13
29
15
24
9
10
28
14
21
4
8
11
20
26
8
30
5
17
12
18
FIT
1:1
100%

Артикул

Название

Примечание

Количество

161311A1

VALVE

ASSEMBLY - swing brake release, Includes: Ref. 1 - 30

1шт.

1

NSS

NOT SOLD SEPARAT

HOUSING - swing brake release valve

1шт.

2

NSS

NOT SOLD SEPARAT

PLUG - port

1шт.

3

NSS

NOT SOLD SEPARAT

PLUG - port

2шт.

4

NSS

NOT SOLD SEPARAT

PLATE - name

1шт.

5

NSS

NOT SOLD SEPARAT

SCREW - drive

2шт.

6

NSS

NOT SOLD SEPARAT

SOLENOID - valve

1шт.

7

NSS

NOT SOLD SEPARAT

SOLENOID - valve

1шт.

8

154498A1

O-RING

- solenoid

2шт.

9

862-4010

HEX SOC SCREW,M4 x 10mm, Cl 12.9

SCREW - hex socket, 4 - 0.7 x 10 mm, class 12.9

4шт.

10

NSS

NOT SOLD SEPARAT

SPOOL - valve

2шт.

11

NSS

NOT SOLD SEPARAT

SPRING - compression, valve

2шт.

12

NSS

NOT SOLD SEPARAT

PLUG - port

2шт.

13

154475A1

O-RING

- plug

2шт.

14

NSS

NOT SOLD SEPARAT

PLUG - port

1шт.

15

154467A1

O-RING,10.8mm ID x 2.4mm Width

- plug

1шт.

16

NSS

NOT SOLD SEPARAT

SPOOL - valve

1шт.

17

NSS

NOT SOLD SEPARAT

SEAT - spring

1шт.

18

NSS

NOT SOLD SEPARAT

SPRING - compression, valve

1шт.

19

NSS

NOT SOLD SEPARAT

SEAT - spring

1шт.

20

NSS

NOT SOLD SEPARAT

GUIDE - valve spring

1шт.

21

154491A1

O-RING

- guide

1шт.

22

NSS

NOT SOLD SEPARAT

SCREW - adjusting

1шт.

23

NSS

NOT SOLD SEPARAT

NUT - locking

1шт.

24

NSS

NOT SOLD SEPARAT

SEAT - valve

1шт.

25

161910A1

BALL

- steel

1шт.

26

154450A1

O-RING

- sleeve

1шт.

27

153943A1

BACK-UP RING

RING - backup

1шт.

28

NSS

NOT SOLD SEPARAT

GUIDE - valve spring

1шт.

29

NSS

NOT SOLD SEPARAT

PLUG - port

1шт.

30

154467A1

O-RING,10.8mm ID x 2.4mm Width

- plug

1шт.

Выбрано товаров: 31