Запчасти Case 9020B (9-058) - TRACK DRIVE CONTROLS, PEDALS AND LEVERS (09) - CHASSIS

Схема запчастей Case 9020B - (9-058) - TRACK DRIVE CONTROLS, PEDALS AND LEVERS (09) - CHASSIS
13
3
18
7
9
21
12
6
6
12
3
6
10
8
4
10
17
22
14
1
22
2
13
19
14
8
17
12
18
2
14
11
12
15
5
16
21
8
12
3
20
13
FIT
1:1
100%

Артикул

Название

Примечание

Количество

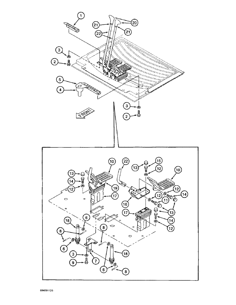
1

159265A1

SUPPORT

FOOTREST - right-hand

1шт.

2

627-10025

BOLT,Hex, M10 x 1.5 x 25mm, Cl 10.9, Full Thd

- hex, full threads, 10 - 1.5 x 25 mm, class 10.9

4шт.

3

150409A1

WASHER

- flat, special, 10.5 x 21 x 3.2 mm

7шт.

4

159267A1

COVER

- travel speed selector switch

1шт.

5

159266A1

SUPPORT

FOOTREST - left-hand

1шт.

7

159263A1

SUPPORT

BRACKET - damper mounting

1шт.

8

153077A1

COTTER PIN

CLIP - hair pin type

4шт.

9

627-10016

BOLT,Hex, M10 x 1.5 x 16mm, Cl 10.9, Full Thd

- hex, full threads, 10 - 1.5 x 16 mm, class 10.9

3шт.

10

159030A1

PEDAL

- foot control

2шт.

11

150555A1

BOLT,High Strength, Hex, M10 x 30mm

BOLT - hex, 10 - 1.5 x 30 mm, class 10.9

4шт.

12

150604A1

WASHER

- special

16шт.

13

159488A1

CAP

- special

16шт.

14

150552A1

BOLT,High Strength, Hex, M10 x 25mm

BOLT - hex, 10 - 1.5 x 25 mm, class 10.9

8шт.

15

150548A1

BOLT,High Strength, Hex, M10 x 20mm

BOLT - hex, 10 - 1.5 x 20 mm, class 10.9

4шт.

16

159259A1

SUPPORT

BRACKET - pedal and valve mounting, left-hand

1шт.

17

160713A1

CONTROL BLOCK

VALVE ASSEMBLY - remote control, see parts list Figure 8-108

2шт.

18

159264A1

SHOCK ABSORBER

DAMPER - valve

2шт.

19

159258A1

SUPPORT

BRACKET - pedal and valve mounting, right-hand

1шт.

20

159262A1

KNOB

- control lever

2шт.

21

150373A1

NUT

- hex, 12 mm - 1.25, class 12.9

2шт.

22

159261A1

LEVER

- control, track drive

2шт.

6

895-11008

WASHER,9mm ID x 16mm OD x 1.6mm Thk

- flat, 9 x 17 x 1.6 mm

4шт.

Выбрано товаров: 0