Запчасти Case 9020B (9-092) - LINKAGE FOR SHORT ARM, 2.7 M (8 FT 10 IN) ARM (09) - CHASSIS

Схема запчастей Case 9020B - (9-092) - LINKAGE FOR SHORT ARM, 2.7 M (8 FT 10 IN) ARM (09) - CHASSIS
18
15
6
19
4
6
7
11
1
6
18
2
9
2
5
4
13
5
12
4
14
7
7
16
8
7
17
10
3
15
14
10
3
19
FIT
1:1
100%

Артикул

Название

Примечание

Количество

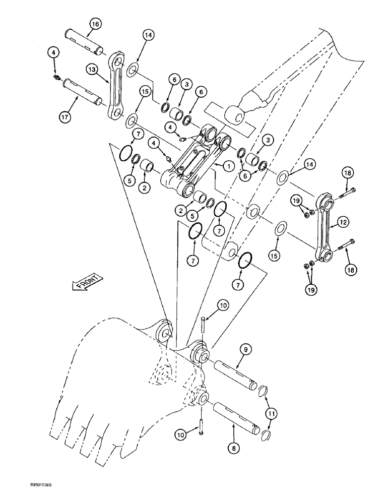
1

164440A1

POWER ARM

LINK ASSEMBLY - bucket, standard, ductile iron, replaces 161315A1 link assembly, Includes: Ref. 2 and 3

1шт.

1

164761A1

POWER ARM

LINK ASSEMBLY - bucket, heavy duty, steel, Includes: Ref. 2 and 3

1шт.

2

150264A1

BUSHING,80mm ID x 95mm OD x 65mm L

- link, bucket end

2шт.

3

150123A1

BUSHING,70mm ID x 85mm OD x 70mm L

- link, cylinder end

2шт.

4

153630A1

LUBE NIPPLE

FITTING - grease, straight

4шт.

5

159647A1

SEAL,80mm ID x 95mm OD x 5mm Thk

- dust

2шт.

6

161295A1

SEAL,70mm ID x 85mm OD x 5mm Thk

- dust

4шт.

7

160402A1

O-RING

- grease seal

4шт.

8

157149A1

PIN

- attaching, Serial Range: bucket-boom

1шт.

9

157148A1

PIN

- attaching, bucket to link assembly

1шт.

10

153748A1

PIN,20mm OD x 125mm L

- special, bucket pins

2шт.

11

153749A1

RING

- wire

2шт.

12

163463A1

LINK

- arm, left-hand, standard, ductile iron, replaces 150057A1 link

1шт.

12

164763A1

LINK

- arm, left-hand, heavy duty, steel

1шт.

13

163462A1

LINK

- arm, right-hand, standard, ductile iron, replaces 150053A1 link

1шт.

13

164762A1

LINK

- arm, right-hand, heavy duty, steel

1шт.

14

150502A1

SHIM,71mm ID x 135mm OD x 1.2mm Thk

- plate, 0.05 inch thick

2шт.

15

161643A1

SHIM,66mm ID x 130mm OD x 1.2mm Thk

- plate, 0.05 inch thick

2шт.

16

150082A1

PIN

- attaching, bucket link assembly to cylinder and right-hand and left-hand links, standard, ductile iron

1шт.

16

164764A1

PIN

- attaching, bucket link assembly to cylinder and right-hand and left-hand links, heavy duty, steel

1шт.

17

150084A1

PIN

- attaching, right-hand and left-hand, Serial Range: links-boom

1шт.

18

514-1112

BOLT,Hex, M16 x 1.5 x 140mm, Cl 10.9

2шт.

19

829-13416

NUT,M16 x 1.5, Cl 10

- hex, 16 mm - 1.5, class 10

4шт.

Выбрано товаров: 23