Запчасти Case 9020B (5-012) - TRACK ROLLERS (11) - TRACKS/STEERING

Схема запчастей Case 9020B - (5-012) - TRACK ROLLERS (11) - TRACKS/STEERING
1b
4
7
4
9
6
8
8
5
2
3
1a
3
10
7
6
5
FIT
1:1
100%

Артикул

Название

Примечание

Количество

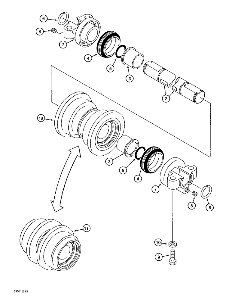
152170A1

ROLLER ASSY.

ROLLER ASSEMBLY - track, with outer flanges, Includes: Ref. 1A - 8

10шт.

152181A1

ROLLER ASSY.

ROLLER ASSEMBLY - track, with inner flanges, Includes: Ref. 1A - 8

4шт.

1a

152173A1

SHIFTER ROLLER

HUB - track roller, outer flanges

1шт.

1b

152183A1

SHIFTER ROLLER

HUB - track roller, inner flanges

1шт.

2

152045A1

WHEEL SHAFT

SHAFT - roller

1шт.

3

152570A1

BUSHING

- Roller

2шт.

4

152729A1

OIL SEAL,81.5mm ID x 104.8mm OD x 29mm Thk

ASSEMBLY - face, includes two rings and two seals, track roller

2шт.

5

154625A1

O-RING

- roller shaft, shaft

2шт.

6

150709A1

WIRE

CLIP - wire

2шт.

7

152048A1

COLLAR

BRACKET - mounting

2шт.

8

150821A1

PLUG

- port

2шт.

9

828-16065

BOLT,Hex, M16 x 2 x 65mm, Cl 10.9

56шт.

10

150991A1

WASHER

- flat, special, 16 mm

56шт.

Выбрано товаров: 13