Запчасти Case 9030 (8-88) - 155826A1 SWING REDUCTION GEAR ASSEMBLY (08) - HYDRAULICS

Схема запчастей Case 9030 - (8-88) - 155826A1 SWING REDUCTION GEAR ASSEMBLY (08) - HYDRAULICS
FIT
1:1
100%

Артикул

Название

Примечание

Количество

155826A1

REDUCER

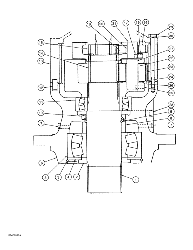
GEAR ASSEMBLY - reduction, swing, Includes: Ref. 1 - 30

1шт.

1

NSS

NOT SOLD SEPARAT

SHAFT - drive

1шт.

2

155683A1

COLLAR

- shaft

1шт.

3

155685A1

RING, SNAP

RING - retaining

1шт.

4

156356A1

PLATE

- shaft end

1шт.

5

156157A1

BEARING, ROLLER,110mm ID x 215mm OD x 73mm W

BEARING - roller

1шт.

6

NSS

NOT SOLD SEPARAT

HOUSING - gear assembly

1шт.

7

151022A1

PLUG

- housing

2шт.

8

155684A1

COLLAR

SPACER - bearing

1шт.

9

155686A1

RING, SNAP

RING - retaining

1шт.

10

155107A1

OIL SEAL

- oil

1шт.

11

156135A1

BEARING, ROLLER,90 mm ID x 160 mm OD x 40 mm

BEARING - roller, inner (Replaces 156129A1)

1шт.

12

155621A1

COTTER PIN

PIN - ring, Serial Range: gear-housing

4шт.

13

155268A1

RING

GEAR - ring

1шт.

14

155272A1

GEAR

- primary

1шт.

15

155269A1

SUN GEAR

GEAR - secondary

1шт.

155827A1

GEAR WHEEL

CARRIER ASSEMBLY - planetary, secondary, Includes: Ref. 16 - 21

1шт.

16

NSS

NOT SOLD SEPARAT

CARRIER - planetary

1шт.

17

738-1825

LOCK PIN,M8 x 25, Slotted

3шт.

18

155270A1

GEAR

- planetary carrier

3шт.

19

155382A1

WASHER, THRUST

PLATE - thrust

3шт.

20

155381A1

BUSHING

- carrier

3шт.

21

155359A1

SHAFT

- gear

3шт.

155812A1

GEAR WHEEL

CARRIER ASSEMBLY - planetary, primary, Includes: Ref. 22 - 27

1шт.

22

155384A1

BUSHING

- pin

4шт.

23

155271A1

GEAR

- planetary carrier

4шт.

24

155383A1

WASHER, THRUST

PLATE - thrust

4шт.

25

738-11025

LOCK PIN,M10 x 25, Slotted

PIN - roll, 10 x 25 mm

4шт.

26

NSS

NOT SOLD SEPARAT

CARRIER - planetary, primary

1шт.

27

155360A1

SHAFT

- gear

4шт.

28

151030A1

PLUG

- housing

1шт.

29

828-12150

BOLT,Hex, M12 x 1.75 x 150mm, Cl 10.9

BOLT - hex socket, 12 - 1.75 x 150 mm, class 10.9

16шт.

30

892-10012

LOCK WASHER,M12

WASHER - lock, 12 mm

16шт.

Выбрано товаров: 33