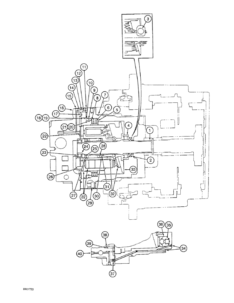
Запчасти Case 9030 (6-08) - 155808A1 TRACK DRIVE MOTOR, SHAFT, CYLINDER BLOCK AND PISTONS (06) - POWER TRAIN

Схема запчастей Case 9030 - (6-08) - 155808A1 TRACK DRIVE MOTOR, SHAFT, CYLINDER BLOCK AND PISTONS (06) - POWER TRAIN
FIT
1:1
100%

Артикул

Название

Примечание

Количество

155808A1

MOTOR

ASSEMBLY - track drive, includes parts on Figures 6-8 and 6-10, Includes: Ref. 1 - 40

2шт.

1

155365A1

SHAFT

- motor

1шт.

2

155110A1

OIL SEAL

SEAL - oil

1шт.

3

155950A1

BALL

- steel

2шт.

4

156141A1

BEARING

- shaft, center

1шт.

5

156326A1

PLATE

- motor

3шт.

6

155386A1

DISC

DISK - rotating

2шт.

7

155216A1

O-RING

-, Serial Range: motor-transmission

1шт.

8

155951A1

PISTON

- motor

1шт.

9

155213A1

O-RING

- collar

1шт.

10

155645A1

COLLAR

- brake piston

1шт.

11

NSS

NOT SOLD SEPARAT

PLUG - port

2шт.

12

NSS

NOT SOLD SEPARAT

PLUG - orifice

1шт.

13

154451A1

O-RING

- plug

3шт.

14

155630A1

PIN

- dowel

2шт.

15

NSS

NOT SOLD SEPARAT

PLUG - port

2шт.

16

NSS

NOT SOLD SEPARAT

HOUSING - motor

1шт.

17

155200A1

O-RING

- end cover

1шт.

18

155214A1

O-RING

- brake piston, at motor housing

1шт.

19

155163A1

BACK-UP RING

RING - backup, brake piston, at motor housing

1шт.

20

155212A1

O-RING

- brake piston, at collar

1шт.

21

155162A1

BACK-UP RING

RING - backup, brake piston, at collar

1шт.

22

155793A1

CYLINDER ASSY.

BLOCK ASSEMBLY - cylinder, with valve plate and nine pistons

1шт.

23

155648A1

SHIM

- plate, 0.002 inch (0.05 mm) thick, if used

3шт.

23

155649A1

SHIM

- plate, 0.004 inch (0.1 mm) thick, if used

3шт.

23

155650A1

SHIM

- plate, 0.008 inch (0.2 mm) thick, if used

3шт.

24

156142A1

ROLLER BEARING,30 mm ID x 62 mm OD x 16 mm

- roller, shaft end

1шт.

25

800-2162

SNAP RING,M62, Int

Retaining M62, Int

1шт.

26

155578A1

PIN

- dowel

1шт.

27

156093A1

SPRING SEAT

SEAT - spring

1шт.

28

156089A1

SPRING

- return

1шт.

29

863-12050

HEX SOC SCREW,M12 x 50mm, Cl 12.9

BOLT - hex socket, 12 - 1.75 x 50 mm

14шт.

30

155644A1

COLLAR

- spring

1шт.

31

155631A1

COTTER PIN

PIN - retainer

3шт.

32

155641A1

RETAINER

- plate, with holder

1шт.

33

156334A1

PLATE

- swash

1шт.

34

NSS

NOT SOLD SEPARAT

PLUG - port

4шт.

35

156091A1

SPRING

- return

2шт.

36

158382A1

PISTON ASSEMBLY - with shoe, was 155792A1

2шт.

37

NSS

NOT SOLD SEPARAT

PLUG - orifice

2шт.

38

156092A1

SPRING

- return, outer

4шт.

39

156090A1

SPRING

- return, inner

8шт.

40

NSS

NOT SOLD SEPARAT

PLUG - port

4шт.

Выбрано товаров: 43