Запчасти Case 9030 (8-08) - BASIC HYDRAULIC CIRCUIT, PUMP TO VALVE (08) - HYDRAULICS

Схема запчастей Case 9030 - (8-08) - BASIC HYDRAULIC CIRCUIT, PUMP TO VALVE (08) - HYDRAULICS
FIT
1:1
100%

Артикул

Название

Примечание

Количество

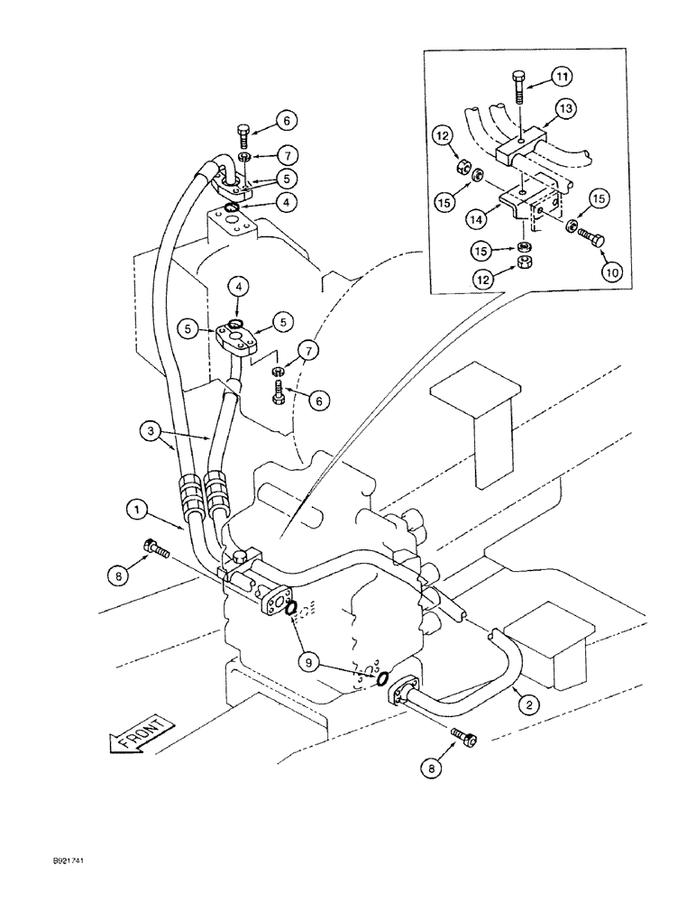
1

153442A1

TUBE,34 mm OD, 440.9, 90.1 mm Length

- pressure line, at valve, right hand side

1шт.

2

153443A1

TUBE,907.5, 305 mm Length

- pressure line, at valve, left hand side

1шт.

3

153441A1

HOSE ASSY.

HOSE - pressure line to valve, at pump

2шт.

4

150678A1

O-RING

- pressure line hose at pump

2шт.

5

153459A1

FLANGE

- split

4шт.

6

628-10035

BOLT,Hex, M10 x 1.5 x 35mm, Cl 10.9, Full Thd

8шт.

7

892-10010

LOCK WASHER,10.4mm ID x 18.1mm OD x 3.5mm Thk

WASHER - lock, 10 mm

8шт.

8

861-10035

HEX SOC SCREW,M10 x 35mm, Cl 12.9

BOLT - hex socket, 10 - 1.5 x 35 mm, class 12.9

8шт.

9

154548A1

O-RING

- pressure line, Serial Range: tube-valve

2шт.

10

626-12035

BOLT,Hex, M12 x 1.75 x 35mm, Cl 10.9, Full Thd

- hex, 12 - 1.75 x 35 mm, class 10.9

2шт.

11

828-12070

BOLT,Hex, M12 x 1.75 x 70mm, Cl 10.9

- hex, 12 - 1.75 x 70 mm, class 10.9

1шт.

12

829-1312

NUT,M12 x 1.75, Cl 10

- hex, 12 mm - 1.75, class 10

3шт.

13

152498A1

SPECIAL CLAMP

CLAMP - tube

1шт.

14

153452A1

BRACKET

- tube clamp mounting

1шт.

15

150988A1

WASHER

- special

5шт.

Выбрано товаров: 15