Запчасти Case 9030B (8-050) - HYDRAULIC PUMP AND FILTER PILOT LINES, STANDARD MODELS PRIOR TO P.I.N. DAC0301004 (08) - HYDRAULICS

Схема запчастей Case 9030B - (8-050) - HYDRAULIC PUMP AND FILTER PILOT LINES, STANDARD MODELS PRIOR TO P.I.N. DAC0301004 (08) - HYDRAULICS
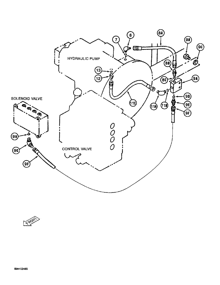
7
8b
9e
9g
11a
9f
9f
9h
9d
9c
9a
6
11b
8c
11c
13
8a
12
9b
FIT
1:1
100%

Артикул

Название

Примечание

Количество

6

150913A1

ELBOW,90 Degree, 1/4" O-Ring x 1/4"

- 90 degree, Includes: Ref. 7

1шт.

7

154467A1

O-RING,10.8mm ID x 2.4mm Width

- elbow

1шт.

8a

151862A1

HOSE,63.00 mm ID x 400.00 mm

(Hydraulic pump port "Pm1" to collection manifold port "B2") 63.00 mm ID x 400.00 mm

1шт.

8b

152127A1

HYD CONNECTOR,1/4" NPT O-Ring x 1/4" NPT

ADAPTER - straight, Includes: Ref. 8C

1шт.

8c

154467A1

O-RING,10.8mm ID x 2.4mm Width

- adapter

1шт.

9a

159014A1

MANIFOLD

- pump supply

1шт.

9b

827-10050

BOLT,Hex, M10 x 1.5 x 50mm, Cl 10.9

- hex, 10-1.5 x 50 mm, class 10.9

2шт.

9c

150409A1

WASHER

- flat, special, 10.5 x 21 x 3.2 mm

2шт.

9d

150913A1

ELBOW,90 Degree, 1/4" O-Ring x 1/4"

- 90 degree, Includes: Ref. 9E

1шт.

9e

154467A1

O-RING,10.8mm ID x 2.4mm Width

- elbow

1шт.

9f

158100A1

HOSE

- 950 mm (37-3/8 inch) long (pilot line between solenoid valve port "C7" and manifold port "A")

1шт.

9g

152127A1

HYD CONNECTOR,1/4" NPT O-Ring x 1/4" NPT

ADAPTER - straight, Includes: Ref. 9H

1шт.

9h

154467A1

O-RING,10.8mm ID x 2.4mm Width

- adapter

1шт.

11a

150913A1

ELBOW,90 Degree, 1/4" O-Ring x 1/4"

- 90 degree, Includes: Ref. 11B

1шт.

11b

154467A1

O-RING,10.8mm ID x 2.4mm Width

- elbow

1шт.

11c

151862A1

HOSE,63.00 mm ID x 400.00 mm

(Hydraulic pump port "Pm2" to collection manifold port "B1") 63.00 mm ID x 400.00 mm

1шт.

12

152127A1

HYD CONNECTOR,1/4" NPT O-Ring x 1/4" NPT

ADAPTER - straight, Includes: Ref. 13

1шт.

13

154467A1

O-RING,10.8mm ID x 2.4mm Width

- adapter

1шт.

Выбрано товаров: 18