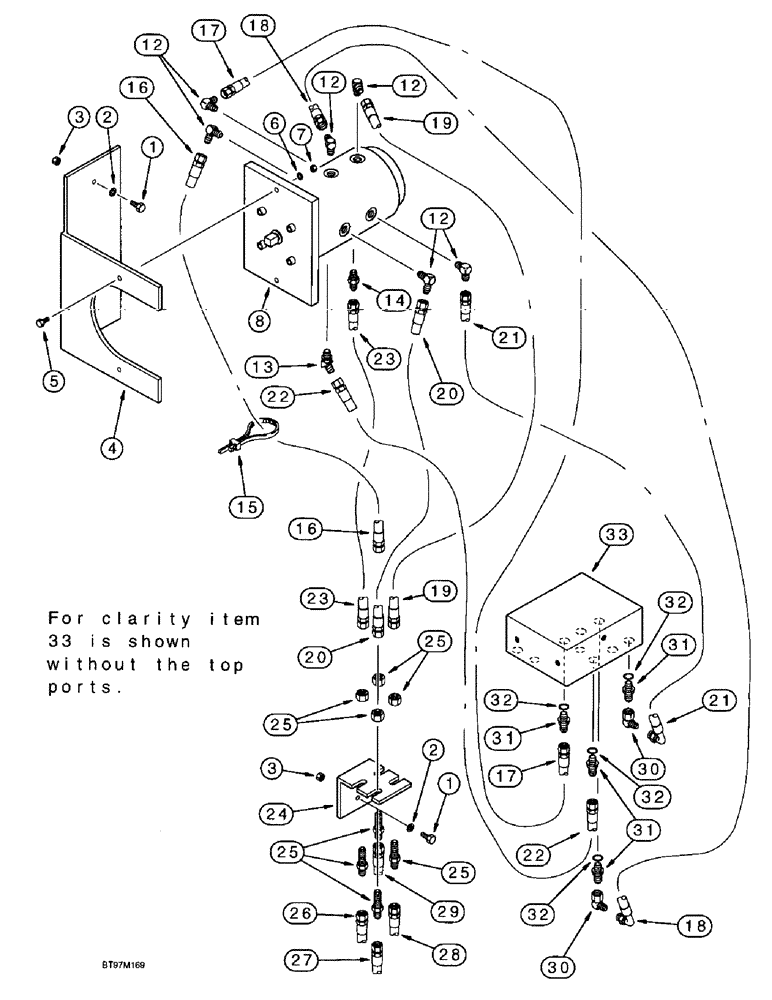
Запчасти Case 9030B (8-107A) - QUICK CHANGE SELECTOR VALVE AND HYDRAULICS (08) - HYDRAULICS

Схема запчастей Case 9030B - (8-107A) - QUICK CHANGE SELECTOR VALVE AND HYDRAULICS (08) - HYDRAULICS
16
25
20
14
15
20
19
33
7
17
3
28
25
26
22
6
21
31
31
18
19
29
32
1
22
23
3
12
31
12
2
4
1
21
24
13
5
32
32
18
32
23
25
25
30
12
30
27
2
12
8
17
16
FIT
1:1
100%

Артикул

Название

Примечание

Количество

1

627-10020

BOLT,Hex, M10 x 1.5 x 20mm, Cl 10.9, Full Thd

- hex, full threads, 10 - 1.5 x 20 mm, class 10.9

3шт.

2

150409A1

WASHER

- flat, special, 10.5 x 21 x 3.2 mm

3шт.

3

829-1312

NUT,M12 x 1.75, Cl 10

- hex, 12 mm - 1.75, class 10

3шт.

4

165783A1

BRACKET

- mounting, selector valve

1шт.

5

627-8020

BOLT,Hex, M8 x 1.25 x 20mm, Cl 10.9, Full Thd

- hex, full threads, 8-1.25 x 20 mm, class 10.9

2шт.

6

892-11008

LOCK WASHER,8mm ID

WASHER, LOCK, M8

2шт.

7

829-1308

NUT,M8, Cl 10

- hex, 8 mm - 1.25, Cl 10

2шт.

8

165780A1

VALVE

ASSEMBLY - selector, Includes: Ref. 9 - 11

1шт.

165891A1

SEAL KIT

- seal, selector valve, Includes: Ref. 9 - 11

1шт.

9

NSS

NOT SOLD SEPARAT

SEAL - wiper, spool, not shown

1шт.

10

154503A1

O-RING

- spool, mounting bracket end, not shown

1шт.

11

154491A1

O-RING

- spool, closed end, not shown

1шт.

12

152749A1

ADAPTER

ELBOW - 90 degree, at selector valve

6шт.

13

152955A1

ADAPTER

ELBOW - special, 45 degree, at selector valve

1шт.

14

152748A1

ADAPTER

- straight, at selector valve

1шт.

15

150067A1

MOUNTING CLIP

STRAP - tie, 150 mm long

1шт.

16

165885A1

HYDRAULIC HOSE,9.50 mm ID x 420.00 mm

- Selector valve port "A" to bulkhead and RH controller port "4" 9.50 mm ID x 420.00 mm

1шт.

17

165782A1

HYDRAULIC HOSE,9.50 mm ID x 1400.00 mm

- Selector valve port "2" to shuttle valve port "A4" 9.50 mm ID x 1400.00 mm

1шт.

18

165782A1

HYDRAULIC HOSE,9.50 mm ID x 1400.00 mm

- Selector valve port "3" to shuttle valve port "A8" 9.50 mm ID x 1400.00 mm

1шт.

19

165883A1

HYDRAULIC HOSE,9.50 mm ID x 650.00 mm

- Selector valve port "B" to bulkhead and RH controller port "2" 9.50 mm ID x 650.00 mm

1шт.

20

165885A1

HYDRAULIC HOSE,9.50 mm ID x 420.00 mm

- Selector valve port "C" to bulkhead and LH controller port "2" 9.50 mm ID x 420.00 mm

1шт.

21

165886A1

HYDRAULIC HOSE,9.50 mm ID x 450.00 mm

- Selector valve port "4" to shuttle valve port "A7" 9.50 mm ID x 450.00 mm

1шт.

22

161067A1

HYDRAULIC HOSE,9.50 mm ID x 400.00 mm

- Selector valve port "1" to shuttle valve port "A3" 9.50 mm ID x 400.00 mm

1шт.

23

165781A1

HYDRAULIC HOSE,9.50 mm ID x 350.00 mm

- Selector valve port "D" to bulkhead and LH controller port "4" 9.50 mm ID x 350.00 mm

1шт.

24

165784A1

BRACKET

- hose, bulkhead

1шт.

25

162826A1

ADAPTER

- straight, special, hydraulic hose

4шт.

26

159217A1

HYDRAULIC HOSE

HOSE - 1850 mm (72-13/16 inch) long, bulkhead to left-hand controller port "4", see Figure 8-032

1шт.

27

159216A1

HYDRAULIC HOSE,9.50 mm ID x 1750.00 mm

- Bulkhead to LH controller port "2", See Figure 8-032 9.50 mm ID x 1750.00 mm

1шт.

28

159212A1

HYDRAULIC HOSE,9.50 mm ID x 2100.00 mm

- Bulkhead to RH controller port "2", See Figure 8-030 9.50 mm ID x 2100.00 mm

1шт.

29

159211A1

HYDRAULIC HOSE

HOSE - 2000 mm (78-3/4 inch) long, bulkhead to right-hand controller port "4", see Figure 8-030

1шт.

30

153526A1

ELBOW

- 90 degree, special

2шт.

31

152128A1

HYD CONNECTOR,3/8" NPT O-Ring x 3/8" NPT

ADAPTER - straight, Includes: Ref. 32

4шт.

32

154475A1

O-RING

- adapter

1шт.

33

159221A1

VALVE

- shuttle

1шт.

Выбрано товаров: 34