Запчасти Case 9030B (8-132) - PEDAL OPERATED REMOTE CONTROL VALVE, PRIOR TO P.I.N. DAC03#2001 (08) - HYDRAULICS

Схема запчастей Case 9030B - (8-132) - PEDAL OPERATED REMOTE CONTROL VALVE, PRIOR TO P.I.N. DAC03#2001 (08) - HYDRAULICS
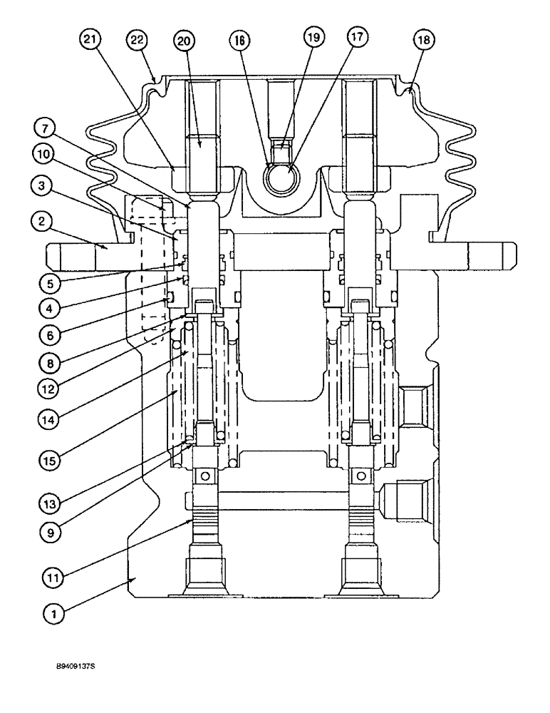
1
18
13
4
10
18
12
14
6
22
17
19
2
21
15
9
20
3
7
11
8
5
FIT
1:1
100%

Артикул

Название

Примечание

Количество

159257A1

CONTROL BLOCK

VALVE ASSEMBLY - remote control, Includes: Ref. 1 - 22

1шт.

1

NSS

NOT SOLD SEPARAT

HOUSING - remote control valve

1шт.

2

160308A1

COVER

- remote control valve

1шт.

3

160055A1

PLUG

- cover

2шт.

4

NSS

NOT SOLD SEPARAT

SEAL - cover plug

2шт.

5

NSS

NOT SOLD SEPARAT

SCRAPER - push rod

2шт.

6

154491A1

O-RING

- cover plug

2шт.

7

160023A1

THREADED ROD

ROD - push, spool

2шт.

8

LA00056

WASHER

- flat, special; Replaces 160286A1

4шт.

9

160285A1

WASHER

- flat, special

2шт.

10

160284A1

BOLT,Hex Skt

BOLT - hex socket, special

2шт.

11

NSS

NOT SOLD SEPARAT

SPOOL - valve

2шт.

12

160232A1

SPRING SEAT

SEAT - spool spring

2шт.

13

160283A1

WASHER

- spring seat

2шт.

14

160249A1

SPRING

- spool

2шт.

15

160250A1

SPRING

- spool, outer

2шт.

16

NSS

NOT SOLD SEPARAT

BUSHING - cam

2шт.

17

160022A1

SHAFT

- cam, valve

1шт.

18

160090A1

CAM

- valve spool

1шт.

19

NSS

NOT SOLD SEPARAT

SCREW - set

1шт.

20

160282A1

SCREW

- push rod

2шт.

21

160281A1

LOCK NUT

- lock, push rod screw

2шт.

22

160001A1

BELLOWS

- valve dust cover

1шт.

160130A1

SEAL KIT

KIT - valve seal, Includes: Ref. 5, 6 and 16

1шт.

Выбрано товаров: 24