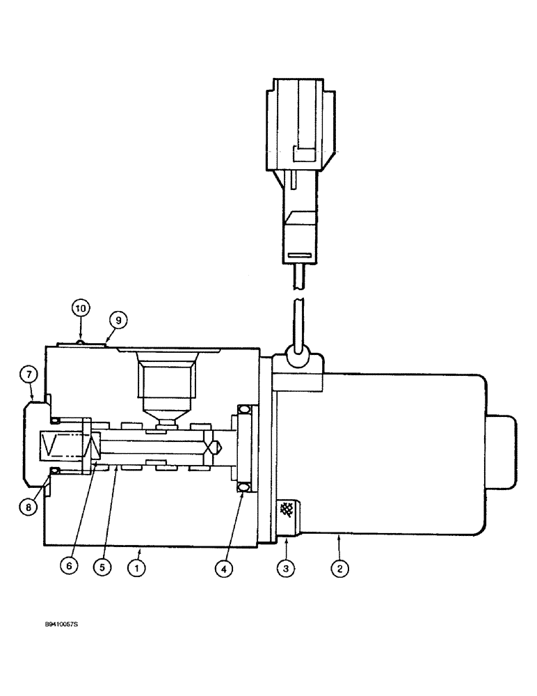
Запчасти Case 9030B (8-158) - FREE SWING SOLENOID VALVE (08) - HYDRAULICS

Схема запчастей Case 9030B - (8-158) - FREE SWING SOLENOID VALVE (08) - HYDRAULICS
3
1
10
5
8
7
4
6
9
2
FIT
1:1
100%

Артикул

Название

Примечание

Количество

159205A1

VALVE

ASSEMBLY - solenoid, free swing, Includes: Ref. 1 - 10

1шт.

1

NSS

NOT SOLD SEPARAT

BODY - valve

1шт.

2

NSS

NOT SOLD SEPARAT

SOLENOID - valve

1шт.

3

862-5010

HEX SOC SCREW,M5 x 10mm, Cl 12.9

SCREW - hex socket, 5 - 0.8 x 10 mm, class 12.9

2шт.

4

154482A1

O-RING

- solenoid

1шт.

5

NSS

NOT SOLD SEPARAT

SPOOL - valve

1шт.

6

NSS

NOT SOLD SEPARAT

SPRING - compression

1шт.

7

NSS

NOT SOLD SEPARAT

PLUG - valve

1шт.

8

154462A1

O-RING

- plug

1шт.

9

NSS

NOT SOLD SEPARAT

PLATE - name

1шт.

10

NSS

NOT SOLD SEPARAT

RIVET - nameplate

2шт.

Выбрано товаров: 11